lemon-mirror:
Home >> Mazda >> 2001 >> Tribute ES, FWD >> Repair and Diagnosis >> Transmission >> Automatic Trans >> Automatic Transaxle >> Forward/Coast/Direct Clutches >> Disassembly Note

Disassembly Note

Fig 1: Exploded View Of Forward/Coast/Direct Clutches
G01163428
  1. Remove the direct clutch pressure plate retaining ring.
    Fig 2: Removing Direct Clutch Pressure Plate Retaining Ring
    G01163429
  2. Disassemble the direct clutch pack.
    Fig 3: Disassembling Direct Clutch Pack
    G01163430
    1. Remove the direct clutch pressure plate.
    2. Remove the direct clutch steel plates.
    3. Remove the direct clutch friction plates.
    WARNING: Use caution when releasing tool pressure on the clutch piston springs. Failure to follow these instructions may result in personal injury.
    CAUTION: Do not compress the direct clutch return springs completely.
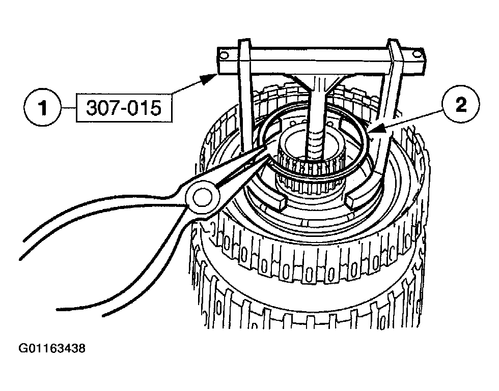
  3. Remove the direct clutch spring retaining ring.
    Fig 4: Removing Direct Clutch Spring Retaining Ring
    G01163431
    1. Using the special tool, compress the direct clutch return springs.
    2. Remove the direct clutch return spring retaining ring.
  4. Remove the direct clutch return spring assembly.
    Fig 5: Removing Direct Clutch Return Spring Assembly
    G01163432
  5. Remove the direct clutch piston assembly.
    Fig 6: Removing Direct Clutch Piston Assembly
    G01163433
  6. Remove and discard the direct clutch piston outer lip seal.
    Fig 7: Removing Discard The Direct Clutch Piston Outer Lip Seal
    G01163434
  7. Remove and discard the direct clutch piston inner lip seal from the forward/coast/direct clutch cylinder assembly.
    Fig 8: Removing Direct Clutch Piston Inner Lip Seal
    G01163435
  8. Remove the forward clutch pressure plate retaining ring.
    Fig 9: Removing Forward Clutch Pressure Plate Retaining Ring
    G01163436
  9. Remove the forward and coast clutch plates.
    Fig 10: Removing Forward And Coast Clutch Plates
    G01163437
    1. Forward clutch pressure plate.
    2. Forward clutch external spline clutch plates (steel).
    3. Coast clutch internal spline clutch plates (friction).
    4. Coast clutch external spline clutch plates (steel).
    5. Coast clutch pressure plate.
    6. Forward clutch internal spline clutch plates (friction).
    7. Forward clutch wave spring.
      WARNING: Use caution when releasing tool pressure on the clutch piston springs. Failure to follow these instructions can result in personal injury.
      CAUTION: Do not compress the return springs completely.
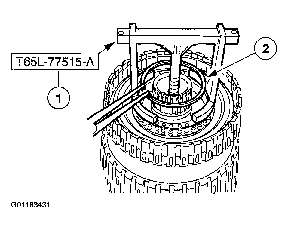
  10. Remove the forward/coast clutch return spring retaining ring.
    Fig 11: Removing Forward/Coast Clutch Return Spring Retaining Ring
    G01163438
    1. Using the special tool, compress the return spring.
    2. Remove the retaining ring.
  11. Remove the forward/coast clutch return spring assembly.
    Fig 12: Removing Forward/Coast Clutch Return Spring Assembly
    G01163439
  12. Remove the forward and coast clutch pistons.
    Fig 13: Removing Forward And Coast Clutch Pistons
    G01163440
  13. Using the special tool, remove and discard the forward clutch piston inner seal from the forward/coast/direct clutch cylinder assembly.
    Fig 14: Removing Forward Clutch Piston Inner Seal
    G01163441
  14. Remove and discard the forward clutch piston outer lip seal.
    Fig 15: Removing Forward Clutch Piston Outer Lip Seal
    G01163442
  15. Separate the coast clutch piston assembly from the forward clutch piston assembly.
    WARNING: Air pressure must not exceed 138 kPa (20 psi). Wear safety glasses when using compressed air. Failure to follow these instructions can result in personal injury.
    NOTE: Do not clean the clutch plates in a vapor degreaser or in any other type of detergent solution.
    Fig 16: Separating Coast Clutch Piston Assembly From The Forward Clutch Piston Assembly
    G01163443
  16. Clean all parts thoroughly in a clean solvent and blow dry with moisture-free regulated compressed air.
    1. Clean the steel clutch plates with a lint-free cloth.
    2. Soak the new clutch plates in the specified transaxle fluid for 30 minutes before assembly.
  17. Inspect the parts for damage or wear.
    1. Spline teeth.
    2. Clutch plates.
    3. Seals.
    4. Bushing.
    5. Check balls in pistons.
    6. Piston bore.
    7. Passages and lubrication holes in the forward/coast/direct clutch cylinder.