lemon-mirror:
Home >> Mazda >> 2001 >> Tribute ES, FWD >> Repair and Diagnosis >> Transmission >> Automatic Trans >> Automatic Transaxle >> Transaxle - Assembly >> Assembly Note

Assembly Note

  1. Prepare the transaxle for assembly by proceeding with the following steps:
    1. Clean all parts (except the friction plates, seals, and intermediate/overdrive band) in solvent.
    2. Dry all parts with moisture-free regulated compressed air (do not use shop towels).
    3. Lubricate all internal parts (including friction plates) with MERCON(R) Automatic Transaxle Fluid (ATF).
    4. Make sure the complete assortment of selective thickness parts are on hand for adjustments during assembly:
      1. Drive sprocket thrust washers.
      2. Driven sprocket thrust bearing shims.
      3. Differential case thrust bearing shims.
      4. Low/reverse clutch pressure plates.
    5. During assembly, use petroleum jelly to hold the parts in place (do not use grease).
    6. Lightly coat bolt and nut threads with automatic transaxle fluid for correct installation torque specifications.
  2. Install intermediate and overdrive band assembly into the transaxle case.
    Fig 1: Installing Intermediate And Overdrive Band Assembly
    G01163591
  3. Install the No. 1 pump support thrust bearing.
    Fig 2: Installing No. 1 Pump Support Thrust Bearing
    G01163592
    1. Lubricate the seal rings with MERCON(R) Automatic Transaxle Fluid (ATF).
      NOTE: Apply a thin coat of petroleum jelly to the pump support seals and to the pump bore in the transaxle.
  4. Install pump assembly into the case.
    Fig 3: Installing Pump Assembly
    G01163593
    NOTE:
    • Tighten the bolts in the indicated sequence.
    Fig 4: Tightening The Bolts In Indicated Sequence
    G01163594
  5. Install the pump assembly bolts.
  6. Using the special tools, install the low/reverse clutch piston.
    Fig 5: Installing Low/Reverse Clutch Piston
    G01163595
    1. Lubricate seals and piston bore with clean MERCON(R) Automatic Transaxle Fluid (ATF).
  7. Install the low/reverse clutch return spring assembly.
    Fig 6: Installing Low/Reverse Clutch Return Spring Assembly
    G01163596
  8. Install the low/reverse clutch return spring retaining ring.
    Fig 7: Installing Low/Reverse Clutch Return Spring Retaining Ring
    G01163597
    CAUTION: The low/reverse clutch wave spring is fitted in this position for measurement purposes only.
  9. Install the low/reverse clutch wave spring.
    Fig 8: Installing Low/Reverse Clutch Wave Spring
    G01163598
  10. Install the low/reverse clutch plates.
    Fig 9: Installing Low/Reverse Clutch Plates
    G01163599
    1. Install the low/reverse clutch external spline (steel) clutch plates.
    2. Install the low/reverse clutch internal spline (friction) clutch plates.
    3. Install the low/reverse clutch pressure plate.
      CAUTION: The low one-way clutch thrust plate is fitted in the position for measurement purposes only.
  11. Install the low one-way clutch thrust plate.
    Fig 10: Installing Low One-Way Clutch Thrust Plate
    G01163600
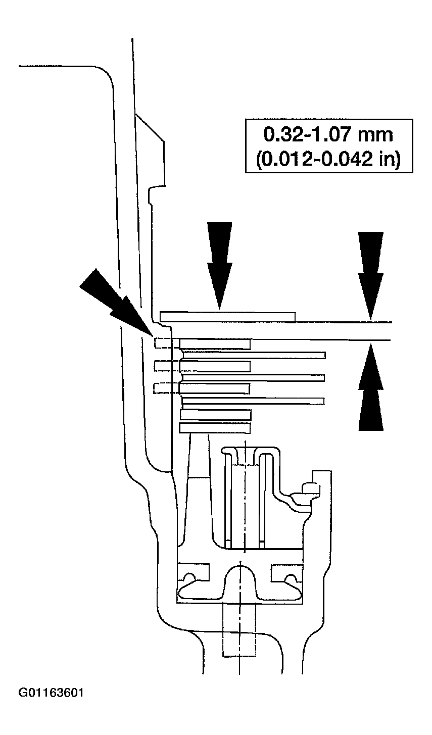
  12. Measure the clearance between the low/reverse clutch pressure plate and the low one-way clutch thrust plate.
    Fig 11: Measuring Clearance Between The Low/Reverse Clutch Pressure Plate & The Low One-Way Clutch Thrust Plate
    G01163601
    1. Take a second measurement on the opposite side.
    2. Average the two measurements to get the clearance.
    3. If the clearance is not within specification, select and fit the correct thickness pressure plate to obtain the specified clearance.
    4. Pressure plate sizes:
      1. 2.57-2.46 mm (0.101-0.097 in)
      2. 2.36-2.26 mm (0.092-0.089 in)
      3. 2.16-2.06 mm (0.085-0.081 in)
    NOTE: One tooth of the low/reverse clutch pressure plate is notched for identification.
  13. Remove the low one-way clutch thrust plate, the low/reverse clutch pressure plate, the low/reverse clutch external spline clutch plates (steel), the low/reverse clutch wave spring, and the low/reverse clutch internal spline clutch plates (friction).
    Fig 12: Removing Low One-Way Clutch Thrust Plate
    G01163602
    1. Low one-way clutch thrust plate.
    2. Low/reverse clutch pressure plate.
    3. Low/reverse clutch external spline clutch plates (steel).
    4. Low/reverse clutch wave spring.
    5. Low/reverse clutch internal spline clutch plates (friction).
  14. Install the No. 1 pump support thrust bearing assembly.
    Fig 13: Installing No. 1 Pump Support Thrust Bearing Assembly
    G01163603
    NOTE: Remove the seal sizer from forward/coast/direct clutch cylinder.
  15. Install the forward/coast/direct clutch cylinder assembly and reverse clutch drum assembly.
    Fig 14: Installing Forward/Coast/Direct Clutch Cylinder Assembly
    G01163604
  16. Install the turbine shaft.
    Fig 15: Installing Turbine Shaft
    G01163605
  17. Install the No. 4 turbine shaft thrust bearing.
    Fig 16: Installing No. 4 Turbine Shaft Thrust Bearing
    G01163606
  18. Install the forward one-way clutch and low/intermediate sun gear assembly.
    Fig 17: Installing Forward One-Way Clutch
    G01163607
  19. Install the No. 5 low/intermediate sun gear thrust bearing.
    Fig 18: Installing No. 5 Low/Intermediate Sun Gear Thrust Bearing
    G01163608
  20. Install the low/intermediate carrier assembly.
    Fig 19: Installing Low/Intermediate Carrier Assembly
    G01163609
  21. Install the No. 6 low/intermediate carrier thrust bearing.
    Fig 20: Installing No. 6 Low/Intermediate Carrier Thrust Bearing
    G01163610
  22. Install the low/intermediate ring gear assembly.
    Fig 21: Installing Low/Intermediate Ring Gear Assembly
    G01163611
  23. Install the No. 7 reverse/overdrive sun gear thrust bearing.
    Fig 22: Installing No. 7 Reverse/Overdrive Sun Gear Thrust Bearing
    G01163612
  24. Install the reverse/overdrive sun gear and shell assembly.
    Fig 23: Installing Reverse/Overdrive Sun Gear
    G01163613
  25. Install the reverse/overdrive carrier assembly with the captured No. 8 thrust bearing.
    Fig 24: Installing Reverse/Overdrive Carrier Assembly
    G01163614
  26. Install the low/reverse clutch plates (model dependent).
    Fig 25: Installing Low/Reverse Clutch Plates (Model Dependent)
    G01163615
    1. Install the low/reverse clutch external spline (steel) clutch plates.
    2. Install the low/reverse clutch internal spline (friction) clutch plates.
    3. Install the low/reverse clutch pressure plate previously selected.
  27. Install the low/reverse clutch wave spring.
    Fig 26: Installing Low/Reverse Clutch Wave Spring
    G01163616
  28. Install the low one-way clutch assembly with the identification ring on the inner ring facing upward.
    Fig 27: Installing Low One-Way Clutch Assembly
    G01163617
  29. Install the low one-way clutch thrust plate.
    Fig 28: Installing Low One-Way Clutch Thrust Plate
    G01163618
    NOTE: Make sure to position the low one-way clutch retaining ring as shown.
  30. Install the low one-way clutch retaining ring.
    Fig 29: Installing Low One-Way Clutch Retaining Ring
    G01163619
  31. Install the manual valve detent lever actuating rod assembly.
    Fig 30: Installing Manual Valve Detent Lever Actuating Rod Assembly
    G01163620
    1. Install the parking cam actuator lever.
  32. Install the manual valve detent lever.
    Fig 31: Installing Manual Valve Detent Lever
    G01163621
  33. Install the special tools.
    Fig 32: Installing Special Tools
    G01163622
  34. Install the special tool with short spacers.
    Fig 33: Installing Special Tool With Short Spacers
    G01163623
  35. Using the special tools, measure the distance from the top of special tool to the No. 12 driven sprocket bearing surface area.
    Fig 34: Measuring Distance From Top Of Special Tool To The No. 12 Driven Sprocket Bearing Surface Area
    G01163624
    1. Record this dimension.
    2. This dimension is designated with A.
  36. Using the special tools, measure the distance from the top of special tool to the bearing surface on the reverse/overdrive carrier assembly on one side of the turbine shaft.
    Fig 35: Measuring Distance Top Of Special Tool To The Bearing Surface On The Reverse/Overdrive Carrier Assembly On One Side Of The Turbine Shaft
    G01163625
    1. Repeat this measurement on the other side of the turbine shaft 180 degrees from the first measurement.
    2. The average of these two dimensions is dimension B.
    3. Remove the special tools.
  37. Subtract dimension B from dimension A to get dimension C.
  38. Use the third dimension to select the correct No. 11 driven sprocket shim.
    1. Select a shim from the driven sprocket shim chart.
      Fig 36: Driven Sprocket Alignment Shim No. 11 (1 Of 2)
      G01163626
      Fig 37: Driven Sprocket Alignment Shim No. 11 (2 Of 2)
      G01163627
  39. Install and lubricate the following:
    1. Lubricate the needles and seals in the No. 18 driven sprocket bearing.
    2. Install the selected No. 11 driven sprocket shim.
    3. Install the No. 12 driven sprocket bearing.
    Fig 38: Installing Selected No. 11 Driven Sprocket Shim
    G01163628
  40. Install the No. 9 reverse/overdrive ring gear thrust bearing.
    Fig 39: Installing No. 9 Reverse/Overdrive Ring Gear Thrust Bearing
    G01163629
    NOTE: Installation of the reverse/overdrive ring gear assembly at this time is for measurement purposes only.
  41. Install the reverse/overdrive ring gear assembly.
    Fig 40: Installing Reverse/Overdrive Ring Gear Assembly
    G01163630
  42. Install the special tools.
    Fig 41: Installing Special Tools
    G01163631
  43. Install the special tool with short spacers.
    Fig 42: Installing Special Tool With Short Spacers
    G01163632
  44. Using the special tools, measure the distance from the top of special tool to the face of the reverse/overdrive ring gear assembly surface area.
    Fig 43: Measuring Distance From Top Of Special Tool To The Face Of The Reverse/Overdrive Ring Gear Assembly Surface Area
    G01163633
    1. Repeat this measurement 180 degrees from the first measurement.
    2. The average of these two dimensions is dimension A.
    3. Remove the special tools.
  45. Add 25.4 mm (1.01 in) (thickness of special tool) and thickness of short spacers.
    1. This is the dimension B.
  46. Subtract dimension A from dimension B.
    1. This is dimension C.
  47. Select No. 10 thrust washer from the drive sprocket thrust washer chart.
    1. Use the third dimension to select the No. 10 drive sprocket thrust washer.
      Fig 44: Drive Sprocket Alignment No. 10 Thrust Washer
      G01163634
  48. Use petroleum jelly and install the selected No. 10 drive sprocket thrust washer on the torque converter housing.
    Fig 45: Installing Selected No. 10 Drive Sprocket Thrust Washer
    G01163635
  49. Remove the reverse/overdrive ring gear assembly.
    Fig 46: Removing Reverse/Overdrive Ring Gear Assembly
    G01163636
  50. Install the filter and seal assembly.
    Fig 47: Installing Filter And Seal Assembly
    G01163637
    Fig 48: Installing Special Tool In The Filter Eyelet And Transaxle Hole
    G01163638
  51. Install the special tool in the filter eyelet and transaxle hole.
    NOTE: Lubricate the filter recirculating regulator exhaust seal before installation.
  52. Using the special tool, install the filter recirculating regulator exhaust seal.
    Fig 49: Installing Filter Recirculating Regulator Exhaust Seal
    G01163639
  53. Install the chain pan in the transaxle case.
    Fig 50: Installing Chain Pan
    G01163640
  54. Assemble and install the drive chain assembly.
    Fig 51: Assemble And Install The Drive Chain Assembly
    G01163641
    1. Drive chain (copper colored link facing upward).
    2. Driven sprocket assembly.
    3. Reverse/overdrive ring gear assembly.
    4. Verify that the driven sprocket assembly and reverse/overdrive ring gear assembly are seated.
  55. Install the chain pan cover by snapping it into place.
    Fig 52: Installing Chain Pan Cover
    G01163642
  56. Install the No. 13 driven sprocket thrust bearing.
    Fig 53: Installing No. 13 Driven Sprocket Thrust Bearing
    G01163643
  57. Install the final drive carrier and differential assembly.
    Fig 54: Installing Final Drive Carrier
    G01163644
    NOTE: Plastic washers should be placed between bolt heads and special tool.
  58. Install the special tools.
    Fig 55: Installing Special Tools On Transaxle Case
    G01163645
    1. Install the special tool.
    2. Install the special tool and bolts.
  59. Using the special tools, measure the distance from the top of special tool to the shim surface area of the final drive carrier and the differential assembly on one side of the hub.
    Fig 56: Measuring Distance From Top Of Special Tool To The Shim Surface Area Of The Final Drive Carrier & The Differential Assembly On One Side Of The Hub
    G01163646
    1. Repeat this measurement 180 degrees from the first measurement.
    2. The average of these two dimensions is dimension B.
  60. Use combined thickness of the special tool with long spacers 177.8 mm (7.11 in) as dimension A.
  61. Subtract dimension B from dimension A. This is dimension C.
  62. Use dimension C to select the correct No. 14 differential bearing shim from the differential bearing shim chart.
    Fig 57: Differential End Play No. 14 Shim
    G01163647
    Fig 58: Installing Differential Bearing Assembly
    G01163648
  63. Install the differential bearing assembly
    1. Install the No. 14 differential bearing shim (selective fit).
    2. Install the No. 15 differential bearing.
      NOTE: Check for correct alignment of the lube tube on the converter housing.
  64. Install the torque converter housing onto the transaxle case.
    Fig 59: Installing Torque Converter Housing Onto The Transaxle Case
    G01163649
    1. Position and install the split flange gasket.
      NOTE:
      • Tighten the bolts in the indicated sequence.
    Fig 60: Tighten The Torque Converter Housing Bolts In The Indicated Sequence
    G01163650
  65. Install the torque converter housing-to-transaxle case bolts.
    NOTE: Note the number of grooves on the intermediate and overdrive servo apply rod.
  66. Lubricate the assembly with clean MERCON(R) Automatic Transaxle Fluid (ATF).
    1. Install the intermediate and overdrive servo return spring assembly onto the servo piston assembly.
    2. Install the intermediate and overdrive servo apply rod and piston assembly.
    3. Install the overdrive servo apply rod spring.
    Fig 61: Installing Return Spring Onto Piston Assembly
    G01163651
  67. Install the special tool.
    Fig 62: Installing Special Tool
    G01163652
    NOTE: Struts on the special tool fit into the servo cover retaining ring groove.
  68. Assemble the special tool.
    Fig 63: Assembling Special Tool
    G01163653
    1. Install struts.
    2. Install bar.
    3. Install bolts.
    4. Install the center bolt.
  69. Using the special tool, measure the distance to the bar of special tool.
    Fig 64: Measuring Distance To The Bar Of Special Tool
    G01163654
    1. Record this as dimension A.
  70. Back off the of special tool until the piston movement stops.
    Fig 65: Identifying Center Bolt
    G01163655
  71. Using the special tool, measure the dimension to the bar of special tool record as dimension B.
    Fig 66: Measuring Dimension To The Bar Of Special Tool
    G01163656
    1. Subtract dimension A from B to find the travel.
    2. If the travel is not within the specification, select a new intermediate and overdrive servo apply rod assembly.
      Fig 67: Intermediate/Overdrive Servo Apply Rod Selection Table
      G01163657
      WARNING: Servo return spring force is very high. Failure to follow these instructions can result in personal injury.
  72. Assemble the special tool.
    Fig 68: Assembling Special Tool
    G01163658
  73. Install the special tool.
    Fig 69: Installing Special Tool
    G01163659
    NOTE:
    • If the servo cover will not seat deep enough in the bore to install the servo cover retaining ring, use a blunt punch or small hammer and gently tap the cover around the outer edge until the servo cover retaining ring can be installed.
  74. Tighten the special tool bolt.
    Fig 70: Tightening Special Tool Bolt
    G01163660
    1. Install the servo cover retaining ring, using retaining ring pliers.
  75. Loosen the special tool bolt.
    Fig 71: Loosening Special Tool Bolt
    G01163661
    1. When spring tension is released, remove the special tool.
      CAUTION: Do not check the coast clutch since the piston may be forced out of the forward clutch piston.
      NOTE: If any leaks occur, make sure the special tool is correctly seated.
  76. Using the special tool, inspect the hydraulic circuits. Use a rubber-tipped blow gun and 19 kPa (2.76 psi) of moisture-free regulated compressed air.
    Fig 72: Inspecting Hydraulic Circuits Using Special Tool & Air Pressure
    G01163662
    1. Reverse clutch test port.
    2. Forward clutch test port.
    3. Direct clutch test port.
    4. Low/reverse clutch test port.
    5. Servo release test port.
    6. Servo apply test port.
    7. Transaxle air test plate.
    8. If air leakage is detected, disassemble the transaxle and locate source of leakage.
  77. Install the thermostatic fluid level control valve.
    Fig 73: Installing Thermostatic Fluid Level Control Valve
    G01163663
    1. Position the thermostatic fluid level control valve.
    2. Install the bracket.
    3. Install the thermostatic fluid level control valve bracket bolt.
  78. Install forward clutch circuit filter (if equipped).
    Fig 74: Installing Forward Clutch Circuit Filter (If Equipped)
    G01163664
    CAUTION: Do not pull wires or damage the solenoid body electrical connector. Damage to the connector and terminals can result.
  79. Install the solenoid body electrical connector O-ring seal and install the electrical connector into its bore in the transaxle case.
    Fig 75: Installing Solenoid Body Electrical Connector O-Ring Seal
    G01163665
    CAUTION: Handle main control valve body with care to prevent manual valve damage.
  80. Connect the manual valve.
    Fig 76: Connecting Manual Valve
    G01163666
    1. Lift the main control away from the case.
    2. Connect the Z-link to the manual valve.
      NOTE:
      • Tighten bolts in sequence shown. Bolts 1, 7 and 9 are longer than the others.
    Fig 77: Installing Main Control Valve Mounting Bolts
    G01163667
  81. Install the main control valve body mounting bolts.
  82. Loosen the nut on the ball stud for the manual valve detent lever actuating rod assembly.
    Fig 78: Loosening Nut On The Ball Stud For The Manual Valve Detent Lever Actuating Rod Assembly
    G01163668
  83. Move the manual control lever shaft to the "D" position.
    1. Install pin to hold special tool in place.
    2. Fig 79: Installing Pin To Hold Special Tool In Place
      G01163669
  84. Move the manual valve detent lever assembly to the "D" position.
    Fig 80: Moving The Manual Valve Detent Lever
    G01163670
  85. Tighten the nut on the ball.
    1. Remove the shifter pin from the special tool.
    Fig 81: Tightening Nut On The Ball
    G01163671
  86. Tighten the detent nut. Rotate back to "D" position to recheck the adjustment.
    Fig 82: Tightening Detent Nut
    G01163672
  87. Using the special tool, recheck the manual control lever assembly setting.
    Fig 83: Rechecking Manual Control Lever Assembly Setting
    G01163673
  88. Install the manual control lever.
    Fig 84: Installing Manual Control Lever
    G01163674
  89. Rotate the manual valve detent lever assembly to the NEUTRAL position.
    Fig 85: Identifying Manual Valve Detent Lever Assembly Positions
    G01163675
    1. Low 1
    2. Low 2
    3. Drive
    4. Neutral
    5. Reverse
    6. Park
  90. Position the transaxle range (TR) sensor.
    Fig 86: Positioning Transaxle Range Sensor
    G01163676
  91. Using the special tool, align the TR sensor and tighten the bolts.
    Fig 87: Using Special Tool, Align The TR Sensor And Tighten The Bolts
    G01163677
  92. Install the main control cover gasket.
    NOTE: Tighten the bolts in the indicated sequence.
    Fig 88: Tightening Bolts In The Indicated Sequence
    G01163678
  93. Install the main control cover.
  94. Install the vent tube.
    Fig 89: Installing Vent Tube
    G01163679
  95. Install a new transaxle filler tube grommet.
    Fig 90: Installing Transaxle Filler Tube Grommet
    G01163680
  96. Install the transaxle filler tube assembly.
    1. Install the tube.
    2. Install the transaxle filler tube bolt.
      1. Install the fluid level indicator.
    3. Fig 91: Installing Transaxle Filler Tube Assembly
      G01163681
  97. Install the turbine shaft speed (TSS) sensor.
    Fig 92: Installing Turbine Shaft Speed Sensor
    G01163682
    1. Use petroleum jelly on the O-ring seal and position the TSS sensor.
      1. Install a new O-ring seal.
    2. Install the TSS sensor bolt.
  98. Using the special tool, install the LH differential seal.
    Fig 93: Installing LH Differential Seal
    G01163683
  99. Using the special tool, install the RH differential seal.
    Fig 94: Installing RH Differential Seal
    G01163684
    NOTE: Make sure the torque converter seal garter spring does not become dislodged during fitting. If the garter spring does become dislodged, install a new torque converter seal.
  100. Using the special tool, install the torque converter fluid seal.
    Fig 95: Installing Torque Converter Fluid Seal
    G01163685
    1. Coat the torque converter seal garter spring with petroleum jelly.
  101. Install the drain plug.
    Fig 96: Installing Drain Plug
    G01163686
  102. Install the output shaft speed (OSS) sensor.
    Fig 97: Installing Output Shaft Speed Sensor
    G01163687
    NOTE: Check for correct rotation of the pump drive shaft.
  103. Install the pump drive shaft.
    Fig 98: Installing Pump Drive Shaft
    G01163688
  104. Using the special tool, install the torque converter.
    Fig 99: Installing Torque Converter
    G01163689
  105. Remove the transaxle from the special tool.
    Fig 100: Removing Transaxle From The Special Tool
    G01163690