lemon-mirror:
Home >> Mazda >> 2001 >> Tribute ES, FWD >> Repair and Diagnosis >> Transmission >> Automatic Trans >> Automatic Transaxle >> Transaxle - Disassembly >> Disassembly Note

Disassembly Note

NOTE: Clean the transaxle assembly to prevent the entry of dirt when reassembling.
  1. Inspect transaxle during disassembly.
  2. Remove the special tool.
    Fig 1: Removing Special Tool
    G01163313
    CAUTION: Do not tilt the torque converter when removing it. This can damage the torque converter hub.
    NOTE: The torque converter is filled with fluid. Position it on a table so that fluid will drain out of the torque converter into a drain pan.
  3. Using the special tool, remove the torque converter.
    Fig 2: Removing Torque Converter
    G01163314
  4. Remove the output shaft speed (OSS) sensor.
    Fig 3: Removing Output Shaft Speed Sensor
    G01163315
  5. Remove the turbine shaft speed (TSS) sensor.
    1. Remove the bolt.
    2. Remove the TSS sensor.
    Fig 4: Removing Turbine Shaft Speed Sensor
    G01163316
  6. Remove and discard the TSS and OSS sensor O-ring seals.
    Fig 5: Removing TSS And OSS Sensor O-Ring Seals
    G01163317
  7. Remove the transaxle range (TR) sensor.
    1. Remove the bolts.
    2. Remove the TR sensor from the manual valve detent lever shaft.
    Fig 6: Removing Transaxle Range Sensor
    G01163318
  8. Using the special tool, secure the transaxle to the bench.
    Fig 7: Securing Transaxle To The Bench
    G01163319
  9. Position the drain pan under the transaxle, remove the drain plug, and drain the transaxle fluid.
    Fig 8: Removing Drain Plug
    G01163320
  10. Remove the pump assembly driveshaft.
    Fig 9: Removing Pump Assembly Driveshaft
    G01163321
  11. Using the special tools, remove and discard the torque converter impeller hub seal.
    Fig 10: Removing Torque Converter Impeller Hub Seal
    G01163322
  12. Using the special tools, remove the left-hand differential seals.
    Fig 11: Removing Left-Hand Differential Seals
    G01163323
  13. Using the special tools, remove the right-hand differential seals.
    Fig 12: Removing Right-Hand Differential Seals
    G01163324
  14. Remove the transaxle fluid filler tube bolt.
    Fig 13: Removing Transaxle Fluid Filler Tube Bolt
    G01163325
  15. Remove the transaxle fluid filler tube.
    Fig 14: Removing Transaxle Fluid Filler Tube
    G01163326
  16. Remove and discard the transaxle filler tube grommet.
    Fig 15: Removing Transaxle Filler Tube Grommet
    G01163327
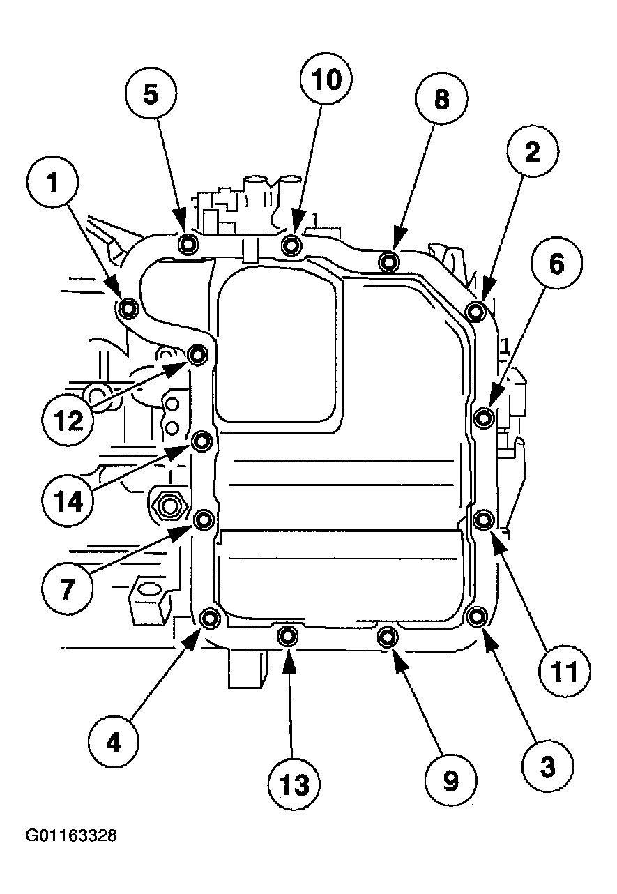
    NOTE: Remove the bolts in the indicated sequence.
    Fig 16: Removing Pan Bolts In The Indicated Sequence
    G01163328
  17. Remove the main control cover bolts, and cover.
  18. Remove and discard the gasket.
    Fig 17: Removing Gasket
    G01163329
  19. Inspect the fitting of the main control cover vent tube for blockage.
    NOTE: Remove the bolts in the indicated sequence.
    Fig 18: Removing Main Control Valve Body Bolts
    G01163330
  20. Remove the main control valve body bolts.
  21. Disconnect the manual valve link from the manual valve when lifting the main control valve body from the case.
    Fig 19: Disconnecting Manual Valve Link
    G01163331
    CAUTION: Do not pull on solenoid body electrical connector wires, or use a hammer on the electrical connector.
  22. Remove the solenoid body electrical connector.
    1. Release the retaining tabs and push the connector through the transaxle case.
    Fig 20: Removing Solenoid Body Electrical Connector
    G01163332
  23. Support the manual valve and remove the main control.
    Fig 21: Removing Main Control
    G01163333
  24. Remove the thermostatic fluid level control valve bracket.
    1. Remove the bolt.
    2. Remove the bracket.
    Fig 22: Removing Thermostatic Fluid Level Control Valve Bracket
    G01163334
  25. Remove the thermostatic fluid level control valve.
    Fig 23: Removing Thermostatic Fluid Level Control Valve
    G01163335
  26. Using the special tool, remove the forward clutch circuit filter (if equipped).
    Fig 24: Removing Forward Clutch Circuit Filter
    G01163336
    WARNING: The servo and servo cover are under high spring force. Use caution when removing servo cover. Failure to follow these instructions can result in personal injury.
    CAUTION: Do not use a screwdriver to remove the retaining ring or damage to the case can occur. Use only snap ring pliers to remove the retaining ring.
  27. Using the special tool, remove the servo assembly.
    1. Install the special tool.
    2. Compress the servo assembly by tightening the bolt.
    3. Remove the retaining ring.
    Fig 25: Removing Servo Assembly
    G01163337
  28. Remove the servo cover assembly.
  29. Remove the intermediate and overdrive servo piston and return spring.
    NOTE: If the bonded seal is damaged, install a new servo assembly.
    Fig 26: Installing Servo Assembly
    G01163338
  30. Inspect the intermediate and overdrive servo assembly and bore for damage or wear.
    1. Servo cover with bonded seal.
    2. Cushion spring.
    3. Servo apply rod.
    4. Servo return spring.
    5. Case servo bore.
      NOTE: Position the transaxle with the torque converter housing facing upward.
  31. Remove the 20 bolts.
    Fig 27: Removing Bolts From Torque Converter Housing
    G01163339
    NOTE: Place the torque converter housing on the engine flange side after removal to prevent damage to the lube tube.
    Fig 28: Separating Torque Converter Housing From The Transaxle Case
    G01163340
  32. Separate the torque converter housing from the transaxle case.
    1. Remove and discard the transaxle split flange gasket.
  33. Remove the differential bearing and shim.
    1. Remove the No. 15 differential bearing.
    2. Remove the No. 14 differential bearing shim.
    Fig 29: Removing Differential Bearing And Shim
    G01163341
  34. Remove the final drive carrier and differential assembly.
    Fig 30: Removing Final Drive Carrier And Differential Assembly
    G01163342
  35. Remove the No. 13 driven sprocket thrust bearing.
    Fig 31: Removing No. 13 Driven Sprocket Thrust Bearing
    G01163343
  36. Unclip and remove the chain pan cover.
    Fig 32: Removing Chain Pan Cover
    G01163344
    NOTE:
    • The driven sprocket thrust washer may adhere to the converter housing.
  37. Remove the No. 10 driven sprocket thrust washer from the reverse/overdrive ring gear assembly.
    Fig 33: Removing The No. 10 Driven Sprocket Thrust Washer
    G01163345
  38. Remove the chain drive, reverse/overdrive ring gear, and driven sprocket assembly.
    Fig 34: Removing Chain Drive, Reverse/Overdrive Ring Gear, And Driven Sprocket Assembly
    G01163346
  39. Separate the drive chain assembly from the driven sprocket assembly and reverse/overdrive ring gear assembly.
    Fig 35: Separating Drive Chain Assembly From The Driven Sprocket Assembly And Reverse/Overdrive Ring Gear Assembly
    G01163347
    NOTE: Inspect the magnet located on the chain pan for excessive metal particles.
  40. Remove the chain pan (with the magnet retained) from the transaxle case.
    Fig 36: Removing Chain Pan
    G01163348
  41. Assemble the special tools.
    Fig 37: Assembling Special Tools
    G01163349
  42. Using the special tools, remove and discard fluid filter recirculating regulator exhaust seal.
    Fig 38: Removing Fluid Filter Recirculating Regulator Exhaust Seal
    G01163350
  43. Remove the fluid filter and seal assembly.
    1. Discard the fluid filter.
    2. Discard the fluid filter seal.
    Fig 39: Removing Fluid Filter And Seal Assembly
    G01163351
  44. Remove the No. 12 driven sprocket bearing.
    Fig 40: Removing No. 12 Driven Sprocket Bearing
    G01163352
  45. Remove the No. 11 driven sprocket shim (selective fit).
    Fig 41: Removing No. 11 Driven Sprocket Shim
    G01163353
  46. Disconnect the parking lever actuating rod from the parking cam actuator lever assembly.
    Fig 42: Disconnecting Parking Lever Actuating Rod
    G01163354
  47. Disconnect the parking lever actuation rod from the manual valve detent lever, and remove the parking lever actuation rod.
    Fig 43: Removing Parking Lever Actuation Rod
    G01163355
    NOTE:
    • The thrust bearing may adhere to the reverse/overdrive sprocket.
  48. Remove the No. 9 reverse/overdrive ring gear thrust bearing.
    Fig 44: Removing No. 9 Reverse/Overdrive Ring Gear Thrust Bearing
    G01163356
    NOTE:
    • The thrust bearing is part of the reverse/overdrive carrier assembly.
  49. Remove the reverse/overdrive carrier assembly with captured No. 8 thrust bearing.
    Fig 45: Removing Reverse/Overdrive Carrier Assembly With Captured No. 8 Thrust Bearing
    G01163357
  50. Remove the reverse/overdrive sun gear and shell assembly.
    Fig 46: Removing Reverse/Overdrive Sun Gear And Shell Assembly
    G01163358
    NOTE:
    • The thrust bearing may adhere to the reverse/overdrive sun gear and shell.
  51. Remove the reverse/overdrive sun gear and No. 7 shell thrust bearing.
    Fig 47: Removing Reverse/Overdrive Sun Gear And No. 7 Shell Thrust Bearing
    G01163359
  52. Remove the low/intermediate ring gear assembly.
    Fig 48: Removing Low/Intermediate Ring Gear Assembly
    G01163360
    NOTE:
    • The low/intermediate carrier thrust bearing may adhere to the low/intermediate ring gear.
  53. Remove the No. 6 low/intermediate carrier thrust bearing.
    Fig 49: Removing No. 6 Low/Intermediate Carrier Thrust Bearing
    G01163361
  54. Remove the low/intermediate carrier assembly.
    Fig 50: Removing Low/Intermediate Carrier Assembly
    G01163362
  55. Remove the No. 5 low/intermediate sun gear thrust bearing and tag for installation.
    Fig 51: Removing No. 5 Low/Intermediate Sun Gear Thrust Bearing
    G01163363
  56. Remove the forward one-way clutch and low/intermediate sun gear.
    Fig 52: Removing Forward One-Way Clutch And Low/Intermediate Sun Gear
    G01163364
    NOTE:
    • The turbine shaft thrust bearing may adhere to the forward one-way clutch and low/intermediate sun gear.
  57. Remove the No. 4 turbine shaft thrust bearing.
    Fig 53: Removing No. 4 Turbine Shaft Thrust Bearing
    G01163365
  58. Remove the turbine shaft assembly.
    Fig 54: Removing Turbine Shaft Assembly
    G01163366
  59. Remove the forward/coast/direct cylinder assembly and reverse clutch drum assembly from the transaxle.
    Fig 55: Removing Forward/Coast/Direct Cylinder Assembly And Reverse Clutch Drum Assembly
    G01163367
  60. Remove the forward/coast/direct clutch cylinder from the reverse clutch drum assembly.
    Fig 56: Removing Forward/Coast/Direct Clutch Cylinder From The Reverse Clutch Drum Assembly
    G01163368
    NOTE:
    • The pump support thrust bearing assembly may adhere to the reverse clutch drum assembly.
  61. Remove the No. 1 pump support thrust bearing and tag for installation.
    Fig 57: Removing No. 1 Pump Support Thrust Bearing And Tag For Installation
    G01163369
  62. Remove the low one-way clutch retaining ring.
    Fig 58: Removing Low One-Way Clutch Retaining Ring
    G01163370
  63. Remove the low one-way clutch thrust plate.
    Fig 59: Removing Low One-Way Clutch Thrust Plate
    G01163371
    NOTE:
    • The low one-way clutch assembly should be removed as an assembly.
  64. Remove the low one-way clutch assembly.
    Fig 60: Removing Low One-Way Clutch Assembly
    G01163372
  65. Remove the low/reverse clutch wave spring.
    Fig 61: Removing Low/Reverse Clutch Plates
    G01163374
  66. Remove the low/reverse clutch plates.
    1. Inspect the friction plates for partially stripped, broken or bent spline teeth, burnt, worn or flaked-off friction material, and warped or bent friction discs.
    2. Inspect the steel plates for heat discoloration or warpage.
    Fig 62: Removing Low/Reverse Clutch Wave Spring
    G01163373
  67. Remove the low/reverse clutch return spring retaining ring.
    Fig 63: Removing Low/Reverse Clutch Return Spring Retaining Ring
    G01163375
  68. Remove the low/reverse clutch return spring assembly.
    Fig 64: Removing Low/Reverse Clutch Return Spring Assembly
    G01163376
    NOTE:
    • Rotate the low/reverse clutch piston while pulling upward.
  69. Remove the low/reverse clutch piston.
    Fig 65: Removing Low/Reverse Clutch Piston
    G01163377
    NOTE:
    • Position the transaxle so the pump assembly is facing upward.
  70. Remove the pump assembly bolts.
    Fig 66: Removing Pump Assembly Bolts
    G01163378
  71. Using the special tools, remove the pump assembly.
    1. Install the special tool.
    2. Assemble the special tools.
    3. Using the special tools, remove the pump assembly.
    Fig 67: Removing Pump Assembly
    G01163379
  72. Remove the intermediate and overdrive band assembly from the case.
    1. Inspect the intermediate and overdrive band assembly for damage and wear.
  73. Fig 68: Removing Intermediate And Overdrive Band Assembly
    G01163380