lemon-mirror:
Home >> Mazda >> 2002 >> 626 ES, Automatic >> Repair and Diagnosis >> Brakes >> Anti-Lock/Traction Control System >> TCS Off Switch Removal/Installation

TCS Off Switch Removal/Installation

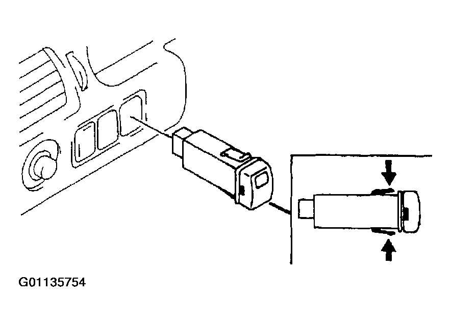
  1. Remove the meter hood.
  2. Press the hooks of the TCS OFF switch and pull the switch out.
  3. Install in the reverse order of removal.
    Fig 1: Removing/Installing TCS Off Switch
    G01135754Courtesy of MAZDA MOTORS CORP.