lemon-mirror:
Home >> Mazda >> 2002 >> B2300 Automatic >> Repair and Diagnosis >> Steering >> Power Steering >> Steering Column Disassembly/Assembly >> Assembly

Steering Column Disassembly/Assembly: Assembly

  1. Install the steering column lock actuators.
    1. Use appropriate grease to lubricate the steering column lock actuators.
    2. Install the steering column lock actuators.
    Fig 1: Installing Upper & Lower Steering Column Lock Actuators
    G02673348Courtesy of MAZDA MOTORS CORP.
  2. NOTE: Coat all surfaces with appropriate grease.
    Fig 2: Installing Steering Column Lock Pawl
    G02673349Courtesy of MAZDA MOTORS CORP.
  3. On automatic transmission equipped vehicles, install the steering column lock pawl.
    1. Position the steering column lock pawl.
    2. Drive in the steering column lock lever pin.
  4. Install the steering column lower bearing retainer.
    1. Position the steering column lower bearing retainer.
    2. Install the three bolts.
    Fig 3: Installing Steering Column Lower Bearing Retainer
    G02673350Courtesy of MAZDA MOTORS CORP.
  5. NOTE: The "UP" position of the bearing must be facing forward toward the engine.

    Install the steering column bearing and sleeve so that the inner race is visible when installed.

    Fig 4: Installing Steering Column Bearing & Sleeve
    G02673351Courtesy of MAZDA MOTORS CORP.
  6. Install the steering column bearing and sleeve.
  7. On automatic transmission equipped vehicles, install the ignition switch. Align the ignition switch with the slot and index mark on the steering column and install the bolts.
    Fig 5: Installing Ignition Switch
    G02673352Courtesy of MAZDA MOTORS CORP.
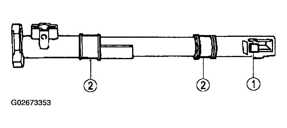
  8. On automatic transmission equipped vehicles, install the transmission control selector lever spring clip (1) and the gearshift lever socket bushings (2) on the shift tube.
    Fig 6: Installing Transmission Control Selector Lever Spring Clip & Gearshift Lever Socket Bushings
    G02673353Courtesy of MAZDA MOTORS CORP.
  9. NOTE: Coat the gearshift lever socket bushings with appropriate grease.
    Fig 7: Installing Column Shift Selector Lever Plunger
    G02673354Courtesy of MAZDA MOTORS CORP.
  10. On automatic transmission equipped vehicles, install the column shift selector lever plunger.
    1. Coat the column shift selector plunger with appropriate grease.
  11. On automatic transmission equipped vehicles, position the gearshift lever in the shift tube.
    Fig 8: Installing Gearshift Lever
    G02673355Courtesy of MAZDA MOTORS CORP.
  12. CAUTION: On automatic transmission equipped vehicles, gearshift lever pin must be installed correctly or 1st gear position may be blocked.
    Fig 9: Installing Gearshift Lever Pin In Shift Tube
    G02673356Courtesy of MAZDA MOTORS CORP.
  13. On automatic transmission equipped vehicles, install the gearshift lever pin in the shift tube.
  14. On automatic transmission equipped vehicles, install the gearshift selector tube spring in the shift tube.
    1. Coat the end of the spring with appropriate grease.
    Fig 10: Installing Gearshift Selector Tube Spring
    G02673357Courtesy of MAZDA MOTORS CORP.
  15. On automatic transmission equipped vehicles, install the transmission selector lever arm and support on the shift tube.
    1. Position the transmission selector lever arm and support.
    2. Install the bolts.
    Fig 11: Installing Transmission Selector Lever Arm & Support
    G02673358Courtesy of MAZDA MOTORS CORP.
  16. On automatic transmission equipped vehicles, install the shift tube.
    1. Position the shift tube.
    2. Position the shift tube clamps.
    3. Install the bolts.
    Fig 12: Installing Shift Tube
    G02673359Courtesy of MAZDA MOTORS CORP.
  17. On automatic transmission equipped vehicles, position the brake shift interlock solenoid and install the bolts.
    Fig 13: Installing Brake Shift Interlock Solenoid
    G02673360Courtesy of MAZDA MOTORS CORP.
  18. CAUTION: Install the upper steering column bearing so that the inner race is visible when installed.
    Fig 14: Installing Upper Steering Column Bearing
    G02673361Courtesy of MAZDA MOTORS CORP.
    Fig 15: Installing Upper Steering Column Bearing (Cutaway View)
    G02673362Courtesy of MAZDA MOTORS CORP.
  19. Using an appropriate bearing installer or socket; install the upper steering column bearing on the steering column lock cylinder housing.
  20. NOTE: Install the large steering column bearing so that the inner race is visible when installed.
    Use an appropriate bearing installer or socket.
    Fig 16: Installing Large Steering Column Bearing
    G02673363Courtesy of MAZDA MOTORS CORP.
    Fig 17: Installing Large Steering Column Bearing (Cutaway View)
    G02673364Courtesy of MAZDA MOTORS CORP.
  21. On tilt steering columns, install the large steering column bearing into the steering column lock cylinder housing.
  22. Position the steering column shaft in the steering column lock cylinder housing.
    1. Install the steering column bearing tolerance ring on the steering column shaft.
    Fig 18: Installing Steering Column Bearing Tolerance Ring
    G02673365Courtesy of MAZDA MOTORS CORP.
  23. Install the steering column bearing sleeve.
    Fig 19: Installing Steering Column Bearing Sleeve
    G02673366Courtesy of MAZDA MOTORS CORP.
  24. Install the steering column bearing spring.
    Fig 20: Installing Steering Column Bearing Spring
    G02673367Courtesy of MAZDA MOTORS CORP.
  25. Install the snap ring.
    Fig 21: Installing Snap Ring
    G02673368Courtesy of MAZDA MOTORS CORP.
  26. Install the turn signal cancel cam.
    Fig 22: Installing Turn Signal Cancel Cam
    G02673369Courtesy of MAZDA MOTORS CORP.
  27. NOTE: Lubricate the lock cylinder housing bushings with appropriate grease.
    Fig 23: Installing Lock Cylinder Housing Screws
    G02673370Courtesy of MAZDA MOTORS CORP.
  28. Install the lock cylinder housing screws loosely and position the steering actuator housing in a vise.
  29. Position the steering column lock cylinder housing and the steering column shaft on the steering actuator housing.
    1. Make sure the upper and lower steering column lock actuators are aligned.
    Fig 24: Installing Steering Column Lock Cylinder Housing & Steering Column Shaft
    G02673371Courtesy of MAZDA MOTORS CORP.
  30. Position the steering column locking levers on the steering actuator housing.
    1. Use a shop fabricated tool.
    2. On tilt steering columns, install and compress the steering column position spring.
    Fig 25: Installing Steering Column Position Spring
    G02673372Courtesy of MAZDA MOTORS CORP.
  31. On tilt steering column equipped vehicles, position the lock cylinder housing and steering actuator housing and tighten the lock cylinder housing screws.
    Fig 26: Installing Lock Cylinder Housing & Steering Actuator Housing
    G02673373Courtesy of MAZDA MOTORS CORP.
  32. On fixed steering column equipped vehicles, install the steering column spacer and tighten the two lock cylinder housing screws.
    1. The steering column spacer is installed on the LH side of the steering column.
    Fig 27: Installing Steering Column Spacer
    G02673374Courtesy of MAZDA MOTORS CORP.
  33. Install the steering column bearing tolerance ring.
    Fig 28: Installing Steering Column Bearing Tolerance Ring
    G02673375Courtesy of MAZDA MOTORS CORP.
  34. On tilt steering column equipped vehicles, install the sensor ring.
    1. Install the sensor ring.
    2. Install the steering column bearing spring.
    Fig 29: Installing Sensor Ring
    G02673376Courtesy of MAZDA MOTORS CORP.
  35. On automatic transmission equipped vehicles, install the shock absorber electronic steering sensor.
    1. Position the shock absorber electronic steering sensor.
    2. Install the screws.
    3. Connect the electrical connector.
    Fig 30: Installing Shock Absorber Electronic Steering Sensor
    G02673377Courtesy of MAZDA MOTORS CORP.
  36. On fixed steering column equipped vehicles, install the snap ring.
    Fig 31: Installing Snap Ring
    G02673378Courtesy of MAZDA MOTORS CORP.
  37. On manual transmission equipped vehicles, install the ignition switch. Tighten bolts to specification.
    Fig 32: Installing Ignition Switch
    G02673379Courtesy of MAZDA MOTORS CORP.
  38. NOTE: The narrow section of the keyhole in the lock gear must be in the 1 o'clock position.
    Fig 33: Installing Steering Column Lock Gear
    G02673380Courtesy of MAZDA MOTORS CORP.
  39. Install the steering column lock gear.
    1. Use appropriate grease to coat the steering column lock gear.
  40. Install the steering column lock housing bearing.
    1. The narrow section of the keyhole should be in the 1 o'clock position, with the tab inboard at the 3 o'clock position and rotate it counterclockwise.
    2. Lubricate the steering column lock housing bearing with appropriate grease.
    Fig 34: Installing Steering Column Lock Housing Bearing
    G02673381Courtesy of MAZDA MOTORS CORP.
  41. Install the steering column upper bearing retainer firmly to engage the four retention tabs into the lock housing.
    Fig 35: Installing Steering Column Upper Bearing Retainer
    G02673382Courtesy of MAZDA MOTORS CORP.
  42. Install the steering column. See STEERING COLUMN REMOVAL/INSTALLATION .
  43. Install the air bag sliding contact. See CLOCKSPRING .
  44. Install the ignition switch lock cylinder. See LOCK CYLINDER REMOVAL/INSTALLATION .