lemon-mirror:
Home >> Mazda >> 2002 >> B2300 Automatic >> Repair and Diagnosis >> Steering >> Power Steering >> Steering Column Disassembly/Assembly >> Disassembly

Steering Column Disassembly/Assembly: Disassembly

  1. Remove the ignition switch lock cylinder. See LOCK CYLINDER REMOVAL/INSTALLATION .
  2. Remove the air bag sliding contact. See CLOCKSPRING .
  3. Remove the steering column. See STEERING COLUMN REMOVAL/INSTALLATION .
  4. On manual transmission equipped vehicles, remove the ignition switch.
    1. Remove the ignition switch bolts.
    2. Remove the ignition switch.
    Fig 1: Removing Ignition Switch
    G02673317Courtesy of MAZDA MOTORS CORP.
  5. Remove the bearing retainer.
    Fig 2: Removing Bearing Retainer
    G02673318Courtesy of MAZDA MOTORS CORP.
  6. Remove the steering column lock housing bearing.
    Fig 3: Removing Steering Column Lock Housing Bearing
    G02673319Courtesy of MAZDA MOTORS CORP.
  7. Remove the steering column lock gear.
    Fig 4: Removing Steering Column Lock Gear
    G02673320Courtesy of MAZDA MOTORS CORP.
  8. On automatic transmission equipped vehicles, remove the shock absorber electronic steering sensor.
    1. Disconnect the electrical connector.
    2. Remove the screws.
    3. Remove the shock absorber electronic steering sensor.
    Fig 5: Removing Shock Absorber Electronic Steering Sensor
    G02673321Courtesy of MAZDA MOTORS CORP.
  9. On fixed steering column equipped vehicles, remove the snap ring from the bottom of the steering column shaft.
    Fig 6: Removing Snap Ring From Bottom Of The Steering Column Shaft
    G02673322Courtesy of MAZDA MOTORS CORP.
  10. On tilt steering column equipped vehicles, remove the sensor ring.
    1. Remove the steering column lower bearing spring.
    2. Remove the sensor ring.
    Fig 7: Removing Sensor Ring
    G02673323Courtesy of MAZDA MOTORS CORP.
  11. Remove the steering column bearing tolerance ring from the steering column shaft.
    Fig 8: Removing Steering Column Bearing Tolerance Ring
    G02673324Courtesy of MAZDA MOTORS CORP.
  12. On tilt steering column equipped vehicles, remove the lock cylinder housing pivot screws.
    Fig 9: Removing Lock Cylinder Housing Pivot Screws
    G02673325Courtesy of MAZDA MOTORS CORP.
  13. WARNING: The steering column position spring is under tension and may come out with great force.
    Fig 10: Removing Lock Cylinder Housing Screws & Steering Column Spacer
    G02673326Courtesy of MAZDA MOTORS CORP.
  14. On fixed steering column equipped vehicles, remove the two lock cylinder housing screws and the steering column spacer.
  15. Remove the steering column lock cylinder housing and the steering column shaft from the steering actuator housing.
    1. Pry up on the steering column locking levers using a shop fabricated tool.
    2. On tilt steering columns, remove the steering column position spring.
    Fig 11: Removing Lock Cylinder Housing & Steering Column Shaft
    G02673327Courtesy of MAZDA MOTORS CORP.
  16. Remove the turn signal cancel cam.
    Fig 12: Removing Turn Signal Cancel Cam
    G02673328Courtesy of MAZDA MOTORS CORP.
  17. Remove the snap ring.
    Fig 13: Removing Snap Ring
    G02673329Courtesy of MAZDA MOTORS CORP.
  18. Remove the steering column upper bearing spring.
    Fig 14: Removing Steering Column Upper Bearing Spring
    G02673330Courtesy of MAZDA MOTORS CORP.
  19. Remove the steering column bearing sleeve.
    Fig 15: Removing Steering Column Bearing Sleeve
    G02673331Courtesy of MAZDA MOTORS CORP.
  20. Remove the steering column bearing tolerance ring.
    1. Slide the steering column shaft in toward the steering column lock cylinder housing, then out.
    2. Slide the steering column bearing tolerance ring off the steering column shaft.
    Fig 16: Removing Steering Column Bearing Tolerance Ring
    G02673332Courtesy of MAZDA MOTORS CORP.
  21. Using a suitable punch, remove the steering column bearing from the steering column lock cylinder housing.
    Fig 17: Removing Steering Column Bearing (Without Tilt Steering)
    G02673333Courtesy of MAZDA MOTORS CORP.
  22. On tilt steering columns, use a suitable punch to remove the steering column bearing from the steering column lock cylinder housing.
    Fig 18: Removing Steering Column Bearing (Tilt Steering)
    G02673334Courtesy of MAZDA MOTORS CORP.
  23. On automatic transmission equipped vehicles, remove the brake shift interlock solenoid.
    1. Remove the three bolts.
    2. Remove the brake shift interlock solenoid.
    Fig 19: Removing Brake Shift Interlock Solenoid
    G02673335Courtesy of MAZDA MOTORS CORP.
  24. On automatic transmission equipped vehicles, remove the shift tube.
    1. Remove the four bolts.
    2. Remove the two shift tube clamps.
    3. Remove the shift tube.
    Fig 20: Removing Shift Tube
    G02673336Courtesy of MAZDA MOTORS CORP.
  25. On automatic transmission equipped vehicles, remove the transmission selector lever arm and support.
    1. Remove the two bolts.
    2. Remove the transmission selector lever arm and support.
    Fig 21: Removing Transmission Selector Lever Arm & Support
    G02673337Courtesy of MAZDA MOTORS CORP.
  26. On automatic transmission equipped vehicles, remove the gearshift selector tube spring.
    Fig 22: Removing Gearshift Selector Tube Spring
    G02673338Courtesy of MAZDA MOTORS CORP.
  27. On automatic transmission equipped vehicles, drive out the gearshift lever pin from the shift tube.
    Fig 23: Removing Gearshift Lever Pin
    G02673339Courtesy of MAZDA MOTORS CORP.
  28. On automatic transmission equipped vehicles, remove the gearshift lever.
    Fig 24: Removing Gearshift Lever
    G02673340Courtesy of MAZDA MOTORS CORP.
  29. On automatic transmission equipped vehicles, remove the column shift selector lever plunger.
    1. If it is bent, replace the column shift selector lever plunger.
    Fig 25: Removing Column Shift Selector Lever Plunger
    G02673341Courtesy of MAZDA MOTORS CORP.
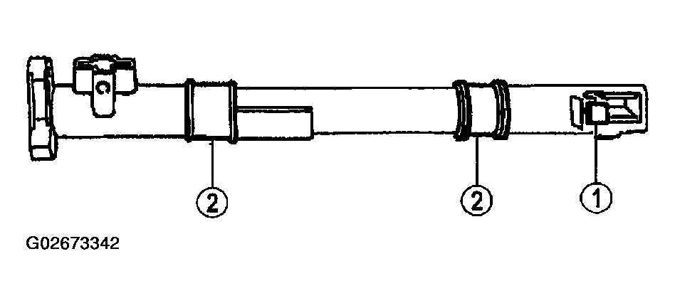
  30. On automatic transmission equipped vehicles.
    1. Remove the two gearshift lever socket bushings.
    2. Remove the transmission control selector lever spring clip.
    Fig 26: Removing Gearshift Lever Socket Bushings & Transmission Control Selector Lever Spring Clip
    G02673342Courtesy of MAZDA MOTORS CORP.
  31. On automatic transmission equipped vehicles, remove the steering column lock pawl.
    1. Drive out the steering column lock lever pin.
    2. Remove the steering column lock pawl.
    Fig 27: Removing Steering Column Lock Pawl
    G02673343Courtesy of MAZDA MOTORS CORP.
  32. On automatic transmission equipped vehicles, remove the ignition switch.
    1. Remove the bolts.
    2. Remove the ignition switch.
    Fig 28: Removing Ignition Switch
    G02673344Courtesy of MAZDA MOTORS CORP.
  33. Remove the lower steering column bearing and sleeve.
    Fig 29: Removing Lower Steering Column Bearing
    G02673345Courtesy of MAZDA MOTORS CORP.
  34. Remove the steering column lower bearing retainer.
    1. Remove the three bolts.
    2. Remove the steering column lower bearing retainer.
    Fig 30: Removing Steering Column Lower Bearing Retainer
    G02673346Courtesy of MAZDA MOTORS CORP.
  35. Remove the upper steering column lock actuator and the lower steering column lock actuator.
    Fig 31: Removing Upper & Lower Steering Column Lock Actuators
    G02673347Courtesy of MAZDA MOTORS CORP.