lemon-mirror:
Home >> Mazda >> 2002 >> B2300 Automatic >> Repair and Diagnosis >> Suspension >> Front Suspension System >> Spindle >> Removal/ Installation >> Spindle Installation

Spindle Installation

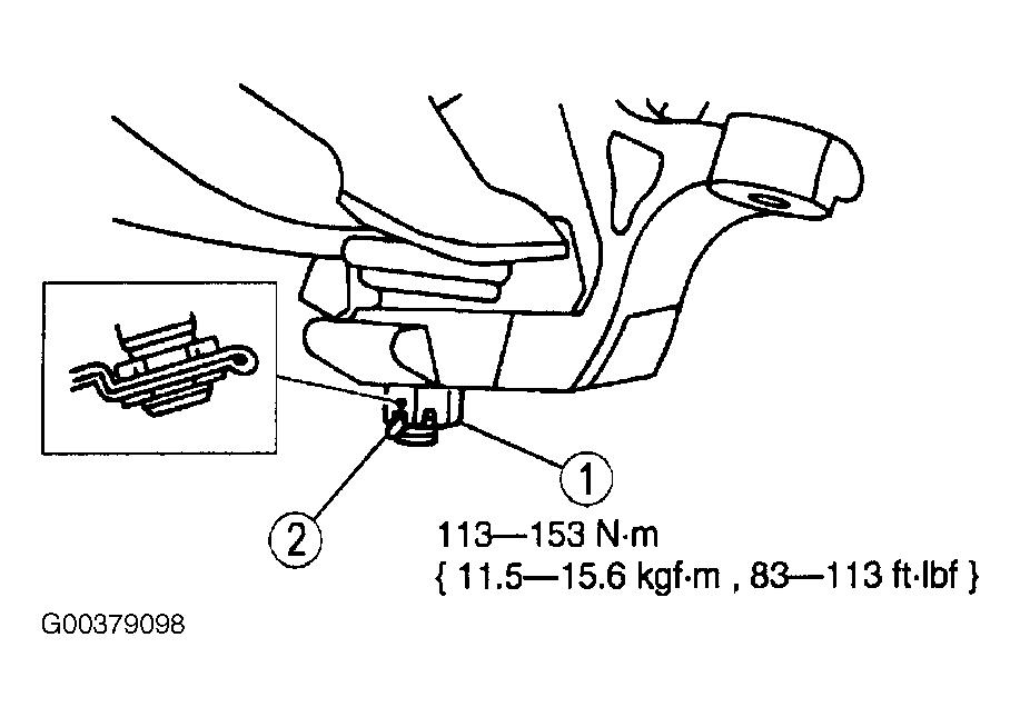
CAUTION: Always install the cotter pin into the lower ball joint castellated nut from outboard to inboard, with the fingers bent together at a right angle. Failure to do so will result in damage to the wheel and tire assembly.
  1. Install the lower ball joint.
    1. Install the castellated nut.
    2. Install a new cotter pin.
      Fig 1: Installing Castellated Nut & New Cotter Pin
      G00379098Courtesy of MAZDA MOTORS CORP.
  2. Install the upper ball joint.
    1. Install the ball joint into the spindle.
    2. Install a new pinch bolt and nut. See Figure .
  3. Remove the coil spring compressor tool or equivalent.
    CAUTION: Always install the cotter pin into the tie rod castellated nut from outboard to inboard, with the fingers bent together at a right angle. Failure to do so will result in damage to the wheel and tire assembly.
  4. Install the tie rod castellated nut.
    1. Install the castellated nut.
    2. Install a new cotter pin.
      Fig 2: Installing Tie Rod Castellated Nut
      G00379099Courtesy of MAZDA MOTORS CORP.
  5. Install the front shock absorber and the two lower nuts. See Figure .
  6. Install the upper shock absorber bushing and nut/washer assembly. See Figure .
  7. Install the front disc brake rotor shield. See FRONT BRAKE ROTOR REMOVAL & INSTALLATION.
  8. Install the tire and wheel assembly.
  9. Inspect and adjust the front end alignment. See WHEEL ALIGNMENT SPECIFICATIONS .