lemon-mirror:
Home >> Mazda >> 2002 >> Protege5 Automatic >> Repair and Diagnosis >> Engine Mechanical >> Engine Mechanical 2.0L >> Cylinder Block Disassembly/Assembly >> Assembly Notes >> Oil Pan Upper Block Assembly Note

Oil Pan Upper Block Assembly Note

  1. Apply a 2.0-3.0 mm {0.08-0.11 in}  bead of silicone sealant to the oil pan upper block as shown.
    Fig 1: Identifying Silicone Application Locations
    G00386823Courtesy of MAZDA MOTORS CORP.
  2. Install the oil pan upper block.
  3. Tighten the 2 bolts at the rear of the cylinder block.
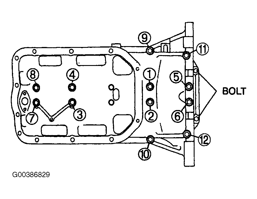
  4. Tighten the oil pan upper block bolts in 2 or 3 steps in sequence.
    Fig 2: Oil Pan Upper Block Bolt Tightening Sequence
    G00386829Courtesy of MAZDA MOTORS CORP.