lemon-mirror:
Home >> Mazda >> 2003 >> 6 s, Automatic >> Repair and Diagnosis >> Brakes >> Traction Control >> Traction Control System >> TCS Off Switch Removal/Installation >> Notes

TCS Off Switch Removal/Installation: Notes

  1. Disconnect the negative battery cable.
  2. Remove in the order indicated in Fig 1 .
    Fig 1: TCS Off Switch Removal Sequence
    G01931652Courtesy of MAZDA MOTORS CORP.
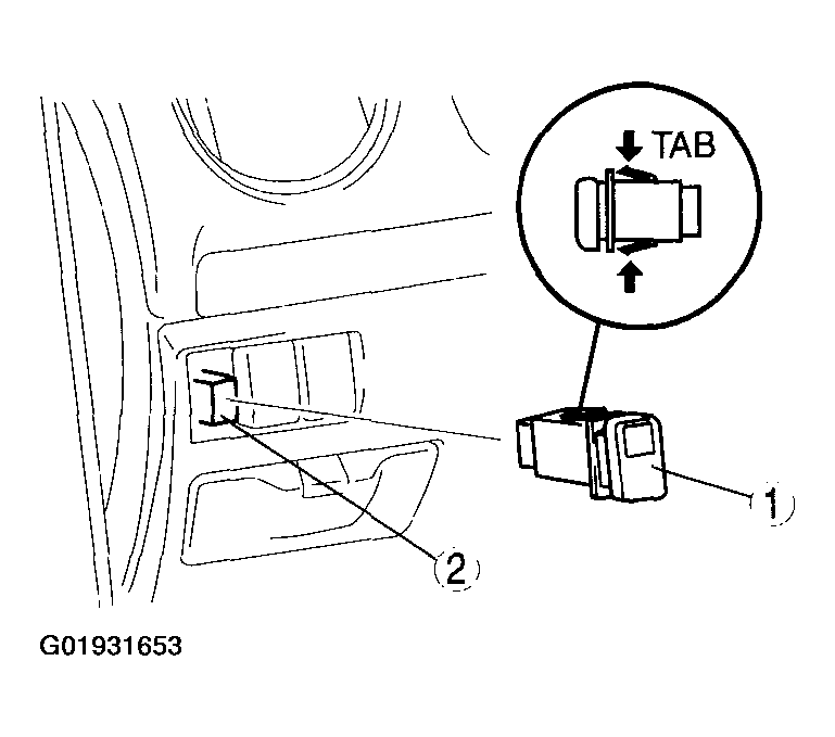
    Fig 2: Identifying TCS Off Switch & Connector
    G01931653Courtesy of MAZDA MOTORS CORP.
  3. Install in the reverse order of removal.