lemon-mirror:
Home >> Mazda >> 2003 >> 6 s, Automatic >> Repair and Diagnosis >> Electrical >> Charging Systems >> Generators & Regulators >> Bench Testing >> Rectifier >> 2.3L

Bench Testing: Rectifier: 2.3L

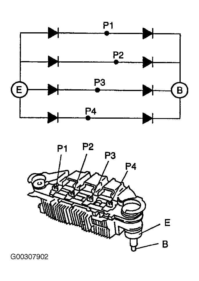
Using DVOM, check diodes for continuity. See RECTIFIER DIODE CONTINUITY (2.3L)  table. See Fig 1. Replace rectifier if continuity is not as specified.

RECTIFIER DIODE CONTINUITY (2.3L)

Tester Negative Probe Tester Positive Probe Continuity
E P1, P2, P3 & P4 Yes
B P1, P2, P3 & P4 No
P1, P2, P3 & P4 E No
P1, P2, P3 & P4 B Yes
Fig 1: Testing Rectifier Diodes (2.3L)
G00307902Courtesy of MAZDA MOTORS CORP.