lemon-mirror:
Home >> Mazda >> 2003 >> B2300 Base, Automatic >> Repair and Diagnosis >> Body & Frame >> Door Locks >> Security System And Locks System >> Relay Component Test >> Notes

Relay Component Test: Notes

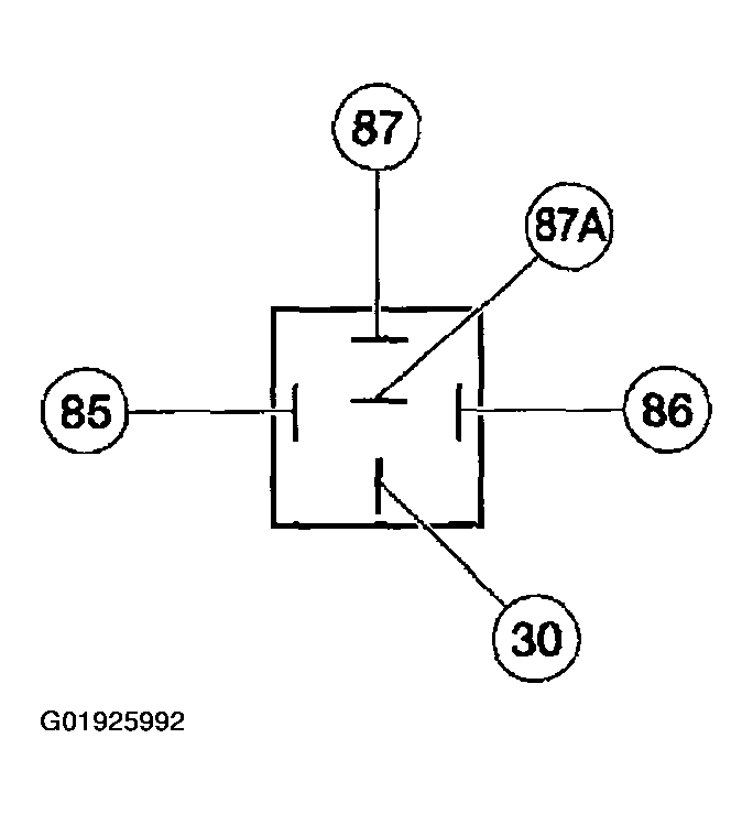
Fig 1: Identifying Driver Unlock Relay Terminals
G01925992Courtesy of MAZDA MOTORS CORP.

Testing of an ISO relay can be accomplished through the use of three No. 10 (or larger gauge) jumper wires and a multimeter.