lemon-mirror:
Home >> Mazda >> 2003 >> MPV ES >> Repair and Diagnosis >> Body & Frame >> Windows >> Glass/Windows/Mirrors >> Rear Window Glass Installation

Rear Window Glass Installation

WARNING:
  • Using a razor with bare hands can cause injury. Always wear gloves when using a razor.
CAUTION:
  • To prevent the sealant from cracking or the glass from being pushed out by air pressure if a door is closed, open all of the windows and leave them open until the sealant has hardened.
  1. Cut away the old sealant using a razor so that 1-2 mm {0.04-0.07 in}  thickness of sealant remains around the circumference of the frame.
    • If all the sealant has come off in any one place, apply some primer after degreasing, and allow it 30 minutes  to dry. Then put on new sealant to create a 2 mm {0.08 in}  layer.
  2. Clean and degrease an approximately 50.0 mm {1.97 in}  wide strip around the circumference of the glass and the bonding area on the body.
  3. Clean and degrease the ceramic parting of the glass and the bonding area on the body.
    Fig 1: Cleaning And Degrease Ceramic Parting Of Glass And Bonding Area On Body
    G01884124Courtesy of MAZDA MOTORS CORP.
  4. Fit the molding at lower corners. See (1) in Fig 2 .
  5. Install the molding at lower side. See (2) in Fig 2 .
  6. Fit the molding at upper corners. See (3) in Fig 2 .
  7. Install the molding at left and right side, then upper side. See (4) in Fig 2 .
  8. Adjust the fitting of each corner. See (5) in Fig 2 .
    Fig 2: Adjusting Rear Window Fit
    G01884125Courtesy of MAZDA MOTORS CORP.
  9. Paste the fasteners onto the body as shown.
    Fig 3: Pasting Fasteners Onto Body
    G01884126Courtesy of MAZDA MOTORS CORP.
  10. Install the spacer and fasteners onto the glass as shown.
    CAUTION:
    • Keep the area free of dirt and grease, and do not touch the surface or the primer may not properly bond to the surface of the glass and body, which may cause leaks to occur.
    Fig 4: Installing Spacer And Fasteners Onto Glass
    G01884127Courtesy of MAZDA MOTORS CORP.
  11. Use a brush to apply primer to the bonding area of the glass, the body and the molding within the region shown in Fig 5 . Use only glass primer on the glass, and body primer on the body and the molding. Allow it to dry for approximately 30 minutes. 
    Fig 5: Applying Primer To Bonding Area Of Glass
    G01884128Courtesy of MAZDA MOTORS CORP.
  12. Once the primer is dry, apply sealant around the entire circumference to the edge of glass with a 11.0 mm {0.43 in}  high and 5.0 mm {0.20 in}  wide bead of sealant.
  13. Align the pins and install the glass on the body.
    Fig 6: Aligning Pins And Installing Glass On Body
    G01884129Courtesy of MAZDA MOTORS CORP.
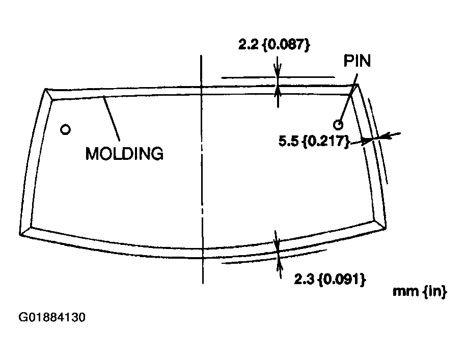
  14. Verify that the gap along the each edge is as shown in Fig 7 .

    Gap 

    Upper edge: 2.2 mm {0.087 in} 

    Side edge: 5.5 mm {0.217 in} 

    Lower edge: 2.3 mm {0.091 in} 

    Fig 7: Verifying Gap Along Each Edge
    G01884130Courtesy of MAZDA MOTORS CORP.
  15. Press firmly inward on the glass to compress the sealant.

    Hardening time of sealant 

    Fig 8: Hardening Time Of Sealant Table
    G01884131Courtesy of MAZDA MOTORS CORP.
  16. Install the liftgate lower trim. (See LIFTGATE LOWER TRIM REMOVAL/INSTALLATION .)
  17. Install the rear wiper arm and blade. (See REAR WIPER ARM AND BLADE REMOVAL/INSTALLATION .)