lemon-mirror:
Home >> Mazda >> 2003 >> MPV ES >> Repair and Diagnosis >> Body & Frame >> Windows >> Glass/Windows/Mirrors >> Rear Window Glass Removal >> Notes

Rear Window Glass Removal: Notes

  1. Remove the rear wiper arm and blade. (See REAR WIPER ARM AND BLADE REMOVAL/INSTALLATION .)
  2. Remove the liftgate lower trim. (See LIFTGATE LOWER TRIM REMOVAL/INSTALLATION .)
  3. Apply protective tape along the edge of body to protect it from damage.
    WARNING:
    • Using a razor with bare hands can cause injury. Always wear gloves when using a razor.
    NOTE:
    • The rear window molding is a replacement part.
    Fig 1: Applying Protective Tape Along Edge Of Body
    G01884117Courtesy of MAZDA MOTORS CORP.
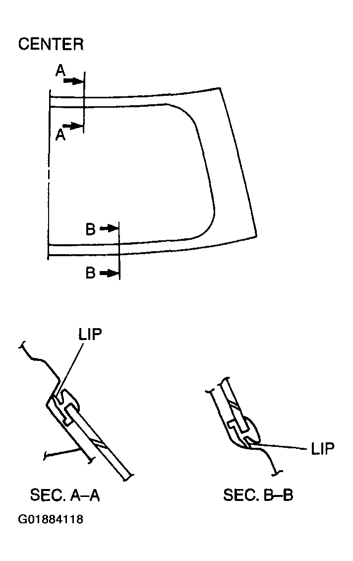
  4. Remove the lip of the rear window molding using a razor.
    Fig 2: Removing Lip Of Rear Window Molding Using Razor
    G01884118Courtesy of MAZDA MOTORS CORP.