lemon-mirror:
Home >> Mazda >> 2003 >> MPV ES >> Repair and Diagnosis >> Electrical >> Horns >> Instrumentation/Driver Info >> Instrument Cluster Disassembly/Assembly

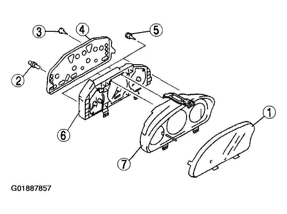
Instrument Cluster Disassembly/Assembly

CAUTION:
  • If the instrument cluster is dropped or the print plate is damaged, the system will not work properly and it may be the cause of trouble or malfunctions.
  1. Disassemble in the order indicated.
    Fig 1: Identifying Instrument Cluster Components
    G01887857Courtesy of MAZDA MOTORS CORP.
    Fig 2: Instrument Cluster Disassembly Sequence
    G01887856Courtesy of MAZDA MOTORS CORP.
  2. Assemble in the reverse order of disassembly.