lemon-mirror:
Home >> Mazda >> 2003 >> MPV ES >> Repair and Diagnosis >> External Pages >> Different car >> Section 185 (Entertainment System) >> Lower Module Removal/Installation >> Notes

Lower Module Removal/Installation: Notes

WARNING: This page is about a different car, the 2004 Mazda MPV. However, it is still accessible from the selected car via links, so may be relevant.
  1. Disconnect the negative battery cable.
  2. Remove the audio unit. (See AUDIO UNIT REMOVAL/INSTALLATION .)
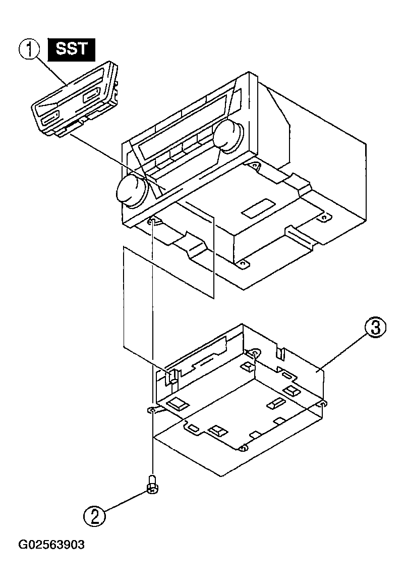
  3. Remove in the order indicated in the table/figure.
    REMOVING/INSTALLING LOWER MODULE

    Component/Step No. Component Description
    1 Cover (See COVER REMOVAL NOTE )
    2 Screw (See SCREW INSTALLATION NOTE )
    3 Lower module
    Fig 1: Removing/Installing Lower Module
    G02563903Courtesy of MAZDA MOTORS CORP.
  4. Install in the reverse order of removal.