lemon-mirror:
Home >> Mazda >> 2003 >> Protege5 Automatic >> Repair and Diagnosis >> Body & Frame >> Windows >> Glass/Windows/Mirrors >> Power Outside Mirror Switch Inspection

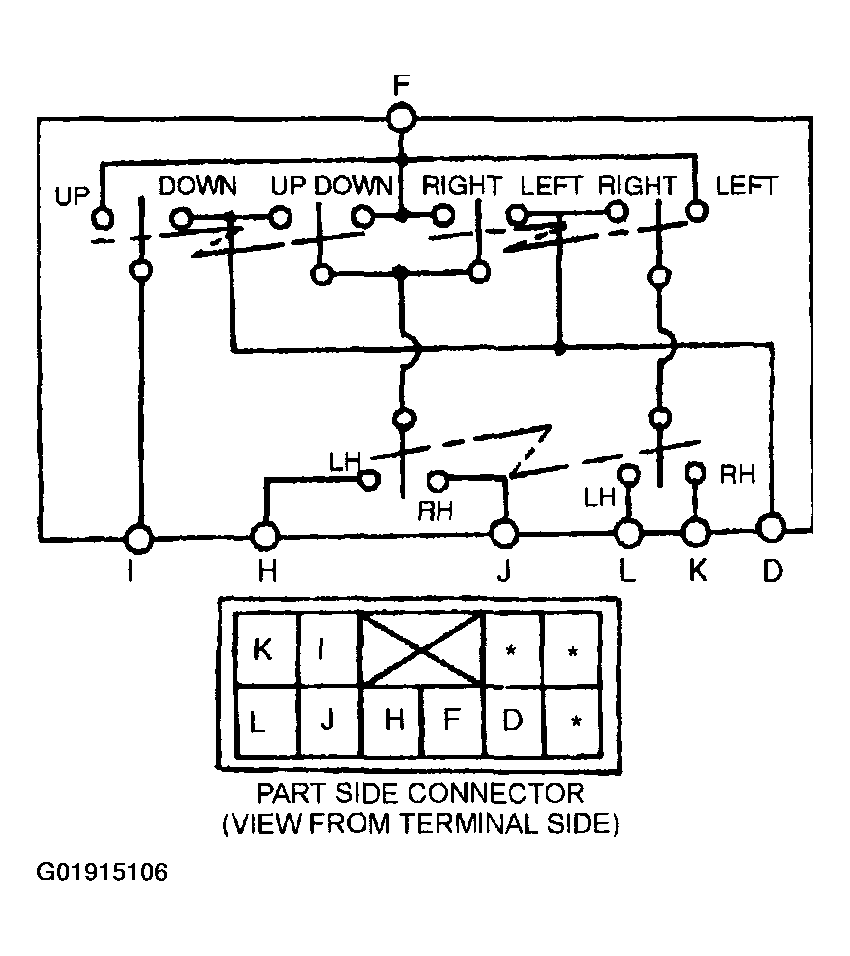
Power Outside Mirror Switch Inspection

  1. Remove the power outside mirror switch. (See POWER OUTSIDE MIRROR SWITCH REMOVAL/INSTALLATION  .)
  2. Inspect for continuity between the power outside mirror switch terminals using an ohmmeter.
    • If not as specified, replace the power outside mirror switch.
    Fig 1: Inspecting Power Outside Mirror Switch (1 Of 2)
    G01915105Courtesy of MAZDA MOTORS CORP.
    Fig 2: Inspecting Power Outside Mirror Switch (2 Of 2)
    G01915106Courtesy of MAZDA MOTORS CORP.