lemon-mirror:
Home >> Mazda >> 2003 >> Protege5 Automatic >> Repair and Diagnosis >> Body & Frame >> Windows >> Glass/Windows/Mirrors >> Rear Window Glass Installation >> 4SD

Rear Window Glass Installation: 4SD

CAUTION:
  • To prevent the sealant from cracking or the glass from being pushed out by air pressure if a door is closed, open all of the windows and leave them open until the sealant has hardened.
  1. Cut away the old sealant using a razor so that 1-2 mm (0.04-0.07 in)  thickness of sealant remains around the circumference of the frame.
    • If all the sealant has come off in any one place, apply some primer after degreasing, and allow it 30 minutes  to dry. Then put on new sealant to create a 2 mm (0.08 in)  layer.
    WARNING:
    • Using a razor with bare hands can cause injury. Always wear gloves when using a razor.
  2. Clean and degrease an approximately 50.0 mm (1.97 in)  wide strip around the circumference of the glass and the bonding area on the body.
    Fig 1: Cutting Old Sealant
    G01915047Courtesy of MAZDA MOTORS CORP.
  3. Align the lower corners of the molding and glass. (1)
  4. Install the lower, starting from the outer ends and moving inward. (2)
  5. Align the marking of the molding with the ceramic parting line on the glass. (3)
  6. Install the sides and upper, starting from the lower edge and moving upward and inward, being careful not to pull out the corners. (4)
    Fig 2: Aligning Molding And Glass
    G01915048Courtesy of MAZDA MOTORS CORP.
  7. Securely bond a dam on the lower side of the glass 14.5 mm (0.571 in)  from the edge.
  8. Install spacers into the hole.
  9. Temporarily install the glass onto the body and adjust the glass-to-body clearance.
  10. Make a marks on the glass directly above the V-notch of the spacers.
    Fig 3: Installing Glass Onto Body And Adjusting Glass-To-Body Clearance
    G01915049Courtesy of MAZDA MOTORS CORP.
  11. Verify that the gap along the upper and side edge is 8.8 mm (0.35 in). 
  12. Remove the windshield.
    Fig 4: Identifying Gap Along Upper And Side Edge
    G01915050Courtesy of MAZDA MOTORS CORP.
  13. Install the fasteners on the body as shown.
    Fig 5: Installing Fasteners On Body
    G01915051Courtesy of MAZDA MOTORS CORP.
  14. Install the fasteners and spacers onto the glass as shown.
    Fig 6: Installing Fasteners And Spacers Onto Glass
    G01915052Courtesy of MAZDA MOTORS CORP.
  15. Use a brush to apply primer to the bonding area of the glass and body within the region shown.
    CAUTION:
    • Keep the area free of dirt and grease, and do not touch the surface, otherwise the primer may not properly bond to the surface of the glass and body, which may cause leaks to occur.
    NOTE:
    • Use only glass primer on the glass, and body primer on the body and molding. Allow it to dry for approximately 30 minutes. 
    Fig 7: Applying Primer To Bonding Area Of Glass And Body
    G01915053Courtesy of MAZDA MOTORS CORP.
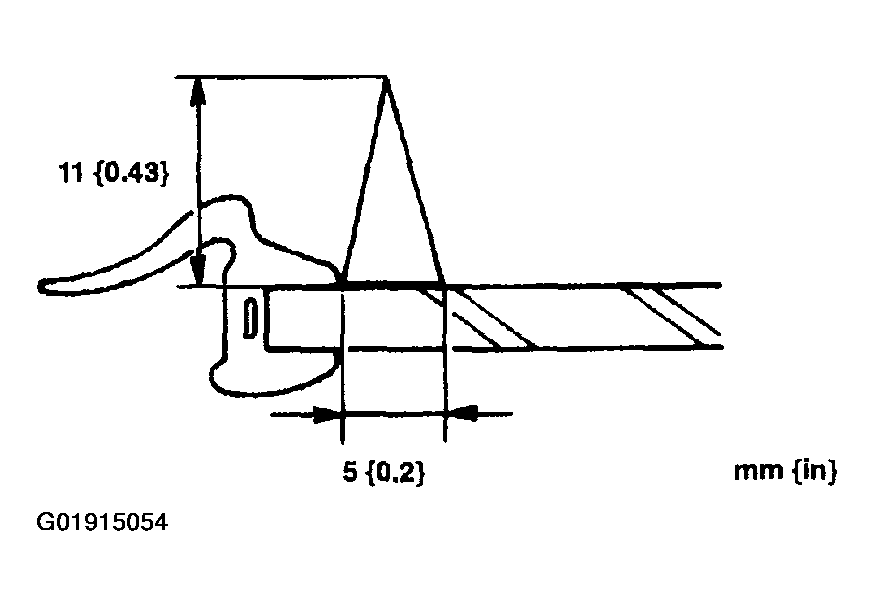
  16. Once the primer is dry, apply sealant measuring 11.0 mm (0.433 in)  in height and 5.0 mm (0.20 in)  in width around the entire circumference to fill the gap between the dam and the edge of the glass.
    Fig 8: Identifying Area For Applying Sealant
    G01915054Courtesy of MAZDA MOTORS CORP.
  17. Align the marks on the glass with the V-notches in the spacers and install the glass onto the body.
  18. Press firmly inward on the glass to compress the sealant.
  19. Verify that the gap along the upper and side edge is 8.8 mm (0.35 in). 

    Hardening time of sealant 

    Fig 9: Hardening Time Of Sealant
    G01915055Courtesy of MAZDA MOTORS CORP.
  20. Install the headliner. (See HEADLINER REMOVAL/INSTALLATION .)