lemon-mirror:
Home >> Mazda >> 2003 >> Protege5 Automatic >> Repair and Diagnosis >> Electrical >> Horns >> Instrumentation/Driver Info >> Instrument Cluster Disassembly/Assembly

Instrument Cluster Disassembly/Assembly

CAUTION:
  • If the instrument cluster is dropped or the print plate is damaged, the system will not operate properly and it may become the cause of trouble or malfunctions.
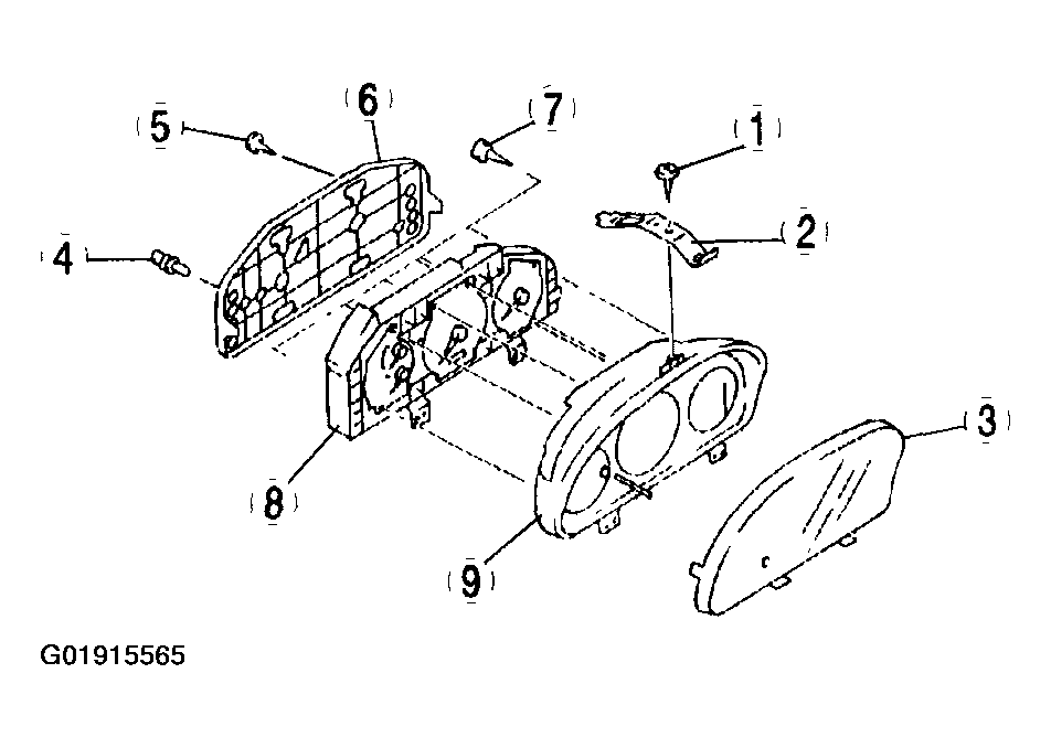
  1. Disassemble in the order indicated in the figure(s).
    Fig 1: Disassembling Instrument Cluster
    G01915565Courtesy of MAZDA MOTORS CORP.
    Fig 2: Instrument Cluster Disassembly Sequence
    G01915564Courtesy of MAZDA MOTORS CORP.
  2. Assemble in the reverse order of disassembly.