lemon-mirror:
Home >> Mazda >> 2003 >> Protege5 Automatic >> Repair and Diagnosis >> Transmission >> Automatic Trans >> Automatic Transaxle Shift Mechanism >> Selector Lever Removal/Installation >> Selector Cable Installation Note

Selector Cable Installation Note

CAUTION:
  • Do not apply load to the manual shaft after manual shaft is shifted to P position. Otherwise, the transaxle may be damaged.
  1. Turn the manual shaft to the converter housing side fully, to set the P position.
    Fig 1: Turning Manual Shaft To Converter Housing Side
    G01914535Courtesy of MAZDA MOTORS CORP.
  2. Install the selector cable to the selector lever.
    Fig 2: Installing Selector Cable To Selector Lever
    G01914536Courtesy of MAZDA MOTORS CORP.
    CAUTION:
    • Bending the selector cable in the manner shown in the figure will damage the cable and it may become loose when shifted. When installing the selector cable, hold it straight.
    Fig 3: Caution Holding Cable In Straight Position
    G01914537Courtesy of MAZDA MOTORS CORP.
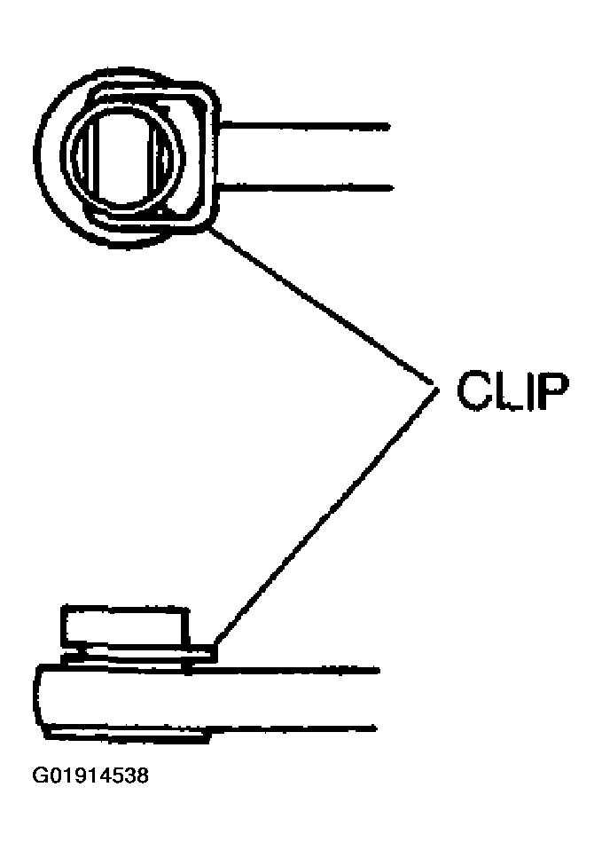
  3. Install the clip as shown in the figure.
    Fig 4: Installing Clip
    G01914538Courtesy of MAZDA MOTORS CORP.
    NOTE:
    • Install the selector cable to the manual shaft lever with the spring side of the selector cable end facing the front of the vehicle.
  4. Install the selector cable to the manual shaft lever in such a way that the selector cable does not bear a load.
  5. Confirm that the end of the manual shaft lever sticks out of the end of the selector cable.
    Fig 5: Installing Selector Cable To Manual Shaft Lever
    G01914539Courtesy of MAZDA MOTORS CORP.
  6. Install the selector cable to the cable bracket.
  7. Verify that the selector lever is at P position.
    Fig 6: Installing Selector Cable To Cable Bracket
    G01914540Courtesy of MAZDA MOTORS CORP.
  8. Unlock the lock piece of the selector cable (selector lever side) in the order shown in the figure.
  9. Shift the selector lever from P position to 1 range (4AT)/M range (Sport AT), and make sure that there are no other components in that area to interfere with the lever.
    Fig 7: Unlocking Lock Piece Of Selector Cable
    G01914541Courtesy of MAZDA MOTORS CORP.