lemon-mirror:
Home >> Mazda >> 2003 >> Tribute DX, FWD >> Repair and Diagnosis >> Body & Frame >> Windows >> Glass/Windows/Mirrors >> Windshield Glass >> Installation

Windshield Glass: Installation

CAUTION:
  • After installing the urethane installed glass, the vehicle should not be driven until the urethane adhesive has cured. The curing times at temperatures above 13°C (55°F) and relative humidity above 50% is 12-24 hours (Refer to the cure times as temperatures and humidity vary). Inadequate curing of the urethane adhesive may adversely affect the strength of the urethane bond.
  1. Dry fit the windshield glass, making alignment marks with tape or non-staining grease pencil.
    Fig 1: Trimming Remaining Urethane Adhesive
    G01903465Courtesy of MAZDA MOTORS CORP.
    CAUTION:
    • Do not scratch the pinch weld area.
  2. Trim the remaining urethane adhesive on the pinch weld to within the specification.
    • The existing urethane adhesive surface should be smooth and free of cuts and contamination.
  3. Use a wool applicator to apply Urethane Metal Primer Essex U-413 to any exposed metal on the pinch weld. Allow 6 to 10 minutes to dry.
  4. If reinstalling the original windshield glass, remove the excess urethane adhesive and the windshield molding.
  5. Clean the inside of the windshield glass surface with an alcohol-free cleaner making sure the ceramic coated area is clean.
    NOTE:
    • Wipe off the glass prep immediately after each application because it flash dries.
  6. If installing a new windshield glass, apply Urethane Glass Prep Essex U-401 twice around the glass surface to be urethaned.
  7. If installing a new windshield, apply Glass Primer Essex U-402 to the same area that was prepped in the previous step. Allow five minutes to dry.
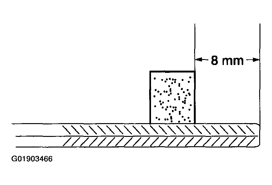
    Fig 2: Applying Foam Dam To Bottom Of Windshield Glass
    G01903466Courtesy of MAZDA MOTORS CORP.
  8. Apply foam dam to the bottom of the windshield glass.
    Fig 3: Cutting Urethane Adhesive Applicator Tip
    G01903467Courtesy of MAZDA MOTORS CORP.
  9. Cut the urethane adhesive applicator tip to specification.
    Fig 4: Applying Bead Of Urethane Adhesive Essex 400-HV Or Essex U-216 To Sides And Top Of Windshield Glass
    G01903468Courtesy of MAZDA MOTORS CORP.
  10. Apply a bead of Urethane Adhesive Essex 400-HV or Essex U-216 to the sides and top of the windshield glass.
    Fig 5: Applying Bead Of Urethane Adhesive Essex 400-HV To Bottom Of Windshield Glass Outside Foam Dam
    G01903469Courtesy of MAZDA MOTORS CORP.
  11. Apply a bead of Urethane Adhesive Essex 400-HV to the bottom of the windshield glass outside the foam dam.
    Fig 6: Installing Windshield Glass
    G01903470Courtesy of MAZDA MOTORS CORP.
  12. Install the windshield glass aligning it to the marks previously made.
  13. After the windshield glass is set, check for water leaks and add urethane adhesive where needed.
  14. If necessary, remove excess urethane adhesive from the outside surface of the windshield glass.
  15. Install the cowl grille. Refer to COWL PANEL GRILLE .
  16. Reposition the front portion of the headliner.
    Fig 7: Installing Overhead Console
    G01903471Courtesy of MAZDA MOTORS CORP.
  17. Install the overhead console.
    1. Position the overhead console.
      • If equipped, connect the electrical connector.
    2. Install the screws.
  18. Install the overhead driver and passenger assist handles.
    Fig 8: Installing Sun Visors And Clips
    G01903472Courtesy of MAZDA MOTORS CORP.
  19. Install the two sun visors and two clips.
    1. Position the sun visors and clips.
    2. Install the six screws.
  20. Install the interior rear view mirror.
    Fig 9: Installing RH And LH Side Windshield Side Garnish Moldings
    G01903473Courtesy of MAZDA MOTORS CORP.
    NOTE:
    • RH side shown, LH side similar.
  21. Install the RH and LH side windshield side garnish moldings.
    Fig 10: Installing RH And LH Side A-Pillar Assist Handles
    G01903474Courtesy of MAZDA MOTORS CORP.
  22. Install the RH and LH side A-pillar assist handles.
    1. Position the assist handle.
    2. Install the bolts.
    3. Close the assist handle covers.