lemon-mirror:
Home >> Mazda >> 2004 >> 3 i, Automatic >> Repair and Diagnosis >> Body & Frame >> Windows >> Glass/Windows/Mirrors >> Power Window Main Switch Removal/Installation

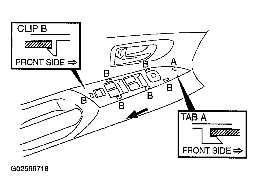
Power Window Main Switch Removal/Installation

  1. Disconnect the negative battery cable.
  2. Remove the clips B using a flathead screwdriver wrapped with protective tape.
  3. Remove the switch panel from the front door trim while sliding it in the direction of the arrow as shown in the figure.
  4. Disconnect the power window main switch connector and the power outer mirror switch connector.
    Fig 1: Locating Power Window Main Switch Clips & Tab
    G02566718Courtesy of MAZDA MOTORS CORP.
  5. Remove the screws, then remove the power window main switch.
  6. Install in the reverse order of removal.
    Fig 2: Removing/Installing Power Window Main Switch
    G02566719Courtesy of MAZDA MOTORS CORP.