lemon-mirror:
Home >> Mazda >> 2004 >> 3 i, Automatic >> Repair and Diagnosis >> Engine Performance >> Fuel Delivery >> Fuel System >> Fuel System Flow Diagram

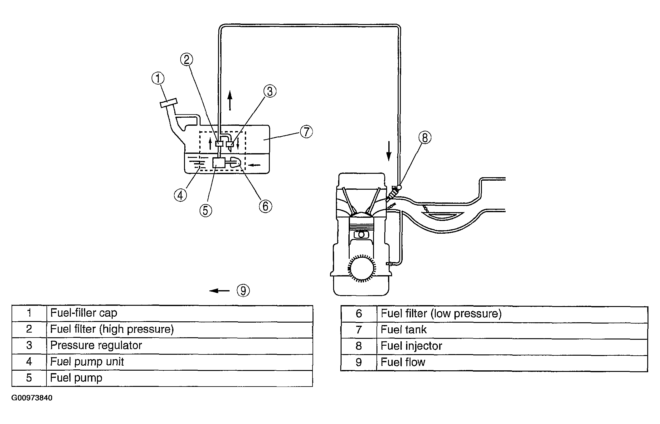
Fuel System Flow Diagram

Fig 1: Fuel System Flow Diagram
G00973840Courtesy of MAZDA MOTORS CORP.