lemon-mirror:
Home >> Mazda >> 2004 >> 6 i, 4D Hatchback, Automatic >> Repair and Diagnosis >> Engine Performance >> System >> Symptom Troubleshooting [Engine Control System (L3) >> Engine Control System Operation Inspection >> Input Signal System Investigation Procedure >> VSS

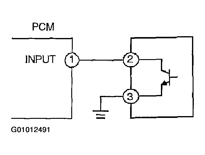
Input Signal System Investigation Procedure: VSS

  1. Measure the #1 PCM terminal voltage and confirm that it is at 0 V or 5 V when the ignition switch at ON and the engine at idle.
    • If it is at 0 V  or 5 V  , intermittent concern exists. (See INTERMITTENT CONCERN TROUBLESHOOTING .)
    • If not, inspect the following points concerning the PCM connector.
    • If there is no problem, inspect for the following:
      • Female terminal opening is loose.
      • Coupler (pin holder) damage
      • Pin discoloration (blackness)
      • Harness/pin crimp is loose or disconnected.
    Fig 1: Measuring PCM Terminal #1 Voltage
    G01012491Courtesy of MAZDA MOTORS CORP.
  2. Measure the #2 sensor terminal voltage and confirm that it is at 0 V  or 5 V  when the ignition switch at ON and the engine at idle.
    • If it is at 0 V  or 5 V  , intermittent concern exists. (See INTERMITTENT CONCERN TROUBLESHOOTING .)
    • If not, inspect the following points concerning the sensor connector:
    • If there is no problem, inspect for the following.
      • Female terminal opening is loose.
      • Coupler (pin holder) damage
      • Pin discoloration (blackness)
      • Harness/pin crimp is loose or disconnected.
  3. Confirm that the #3 terminal switch voltage is at 0 V  .