lemon-mirror:
Home >> Mazda >> 2004 >> MPV ES >> Repair and Diagnosis >> Body & Frame >> Windows >> Glass/Windows/Mirrors >> Power Outside Mirror Inspection

Power Outside Mirror Inspection

  1. Disconnect the power outside mirror connector. (See POWER OUTSIDE MIRROR REMOVAL/INSTALLATION .)
  2. Apply battery positive voltage to the power outside mirror and inspect the operation of the power outside mirror.
    • If not as specified, replace the power outside mirror.
    Fig 1: Power Outside Mirror Operation
    G02563984Courtesy of MAZDA MOTORS CORP.
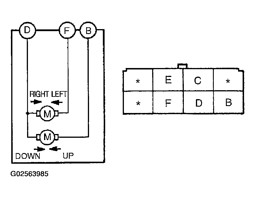
    Fig 2: Identifying Power Outside Mirror Circuit, Terminals & Connector View
    G02563985Courtesy of MAZDA MOTORS CORP.
  3. Inspect for continuity between the power outside mirror terminals.
    • If not as specified, replace the power outside mirror.
    Fig 3: Power Outside Mirror Terminals Continuity Specifications
    G02563986Courtesy of MAZDA MOTORS CORP.
    Fig 4: Identifying Power Outside Mirror Connector Circuit, Terminals & Connector View
    G02563987Courtesy of MAZDA MOTORS CORP.