lemon-mirror:
Home >> Mazda >> 2004 >> MPV ES >> Repair and Diagnosis >> Engine Performance >> System >> Symptom Troubleshooting [Engine Control System AJ] >> Engine Control System Operation Inspection >> Input Signal System Investigation Procedure >> VSS

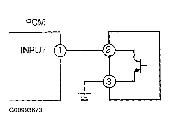
Input Signal System Investigation Procedure: VSS

Fig 1: Inspecting VSS
G00993673Courtesy of MAZDA MOTORS CORP.
  1. Measure the #1 PCM terminal voltage and confirm that it is at 0 V  or 5 V  when the ignition key at ON and the engine at idle.
    • If it is 0 V or 5 V, intermittent concern exists. (See INTERMITTENT CONCERN TROUBLESHOOTING .)
    • If not, inspect the following points concerning the PCM connector.
    • If there is no problem, inspect for the following.
      • Female terminal opening is loose.
      • Coupler (pin holder) damage
      • Pin discoloration (blackness)
      • Harness/pin crimp is loose or disconnected.
  2. Measure the #2 sensor terminal voltage and confirm that it is at 0 V  OR 5 V  when the ignition key at ON and the engine at idle.
    • If it is 0 V  or 5 V  , intermittent concern exists. (See INTERMITTENT CONCERN TROUBLESHOOTING .)
    • If not, inspect the following points concerning the sensor connector.
    • If there is no problem, inspect for the following.
      • Female terminal opening is loose.
      • Coupler (pin holder) damage
      • Pin discoloration (blackness)
      • Harness/pin crimp is loose or disconnected.
  3. Confirm that the #3 terminal switch voltage is at 0 V  .
    • If it is at 0 V  , inspect the sensor. If necessary, replace the sensor.
      • If necessary, replace the sensor.
    • If not, inspect for the following.
      • Open circuit in harness
      • Female terminal opening is loose.
      • Coupler (pin holder) damage
      • Pin discoloration (blackness)
      • Harness/pin crimp is loose or disconnected.