lemon-mirror:
Home >> Mazda >> 2004 >> MX-5 Miata Base, Automatic >> Repair and Diagnosis >> Electrical >> Component Locations >> Electrical Component Locator >> Component Location Graphics

Component Location Graphics

NOTE: Figures may show multiple component locations. Refer to appropriate table for proper figure references.
Fig 1: Data Link Connector
G00270898Courtesy of MAZDA MOTORS CORP.
Fig 2: Trunk Lid Opener
G00270899Courtesy of MAZDA MOTORS CORP.
Fig 3: Immobilizer System
G00270900Courtesy of MAZDA MOTORS CORP.
Fig 4: Air Bag System
G00270902Courtesy of MAZDA MOTORS CORP.
Fig 5: Air Bag System
G00270901Courtesy of MAZDA MOTORS CORP.
Fig 6: Cruise Control
G00270903Courtesy of MAZDA MOTORS CORP.
Fig 7: Anti-Lock Brake System
G00270904Courtesy of MAZDA MOTORS CORP.
Fig 8: Power Mirrors
G00270905Courtesy of MAZDA MOTORS CORP.
Fig 9: Door Locks
G00270906Courtesy of MAZDA MOTORS CORP.
Fig 10: Power Windows
G00270907Courtesy of MAZDA MOTORS CORP.
Fig 11: Power Antenna
G00270908Courtesy of MAZDA MOTORS CORP.
Fig 12: Audio (W/Bose)
G00270910Courtesy of MAZDA MOTORS CORP.
Fig 13: Audio (W/Bose)
G00270911Courtesy of MAZDA MOTORS CORP.
Fig 14: Audio (W/Bose)
G00270909Courtesy of MAZDA MOTORS CORP.
Fig 15: Keyless Entry
G00270913Courtesy of MAZDA MOTORS CORP.
Fig 16: Interior Lights
G00270914Courtesy of MAZDA MOTORS CORP.
Fig 17: Cigarette Lighter/Rear Defroster
G00270917Courtesy of MAZDA MOTORS CORP.
Fig 18: Key Interlock
G00270918Courtesy of MAZDA MOTORS CORP.
Fig 19: Shift-Lock
G00270919Courtesy of MAZDA MOTORS CORP.
Fig 20: EC-AT Control
G00270920Courtesy of MAZDA MOTORS CORP.
Fig 21: HVAC
G00270921Courtesy of MAZDA MOTORS CORP.
Fig 22: Brake Lights & Horn
G00270922Courtesy of MAZDA MOTORS CORP.
Fig 23: Back-Up Lights
G00270923Courtesy of MAZDA MOTORS CORP.
Fig 24: Turn Signal & Hazard Lights
G00270924Courtesy of MAZDA MOTORS CORP.
Fig 25: DRL
G00270925Courtesy of MAZDA MOTORS CORP.
Fig 26: Fog Lights
G00270926Courtesy of MAZDA MOTORS CORP.
Fig 27: Front Side Marker, License, Trunk & Parking Lights
G00270927Courtesy of MAZDA MOTORS CORP.
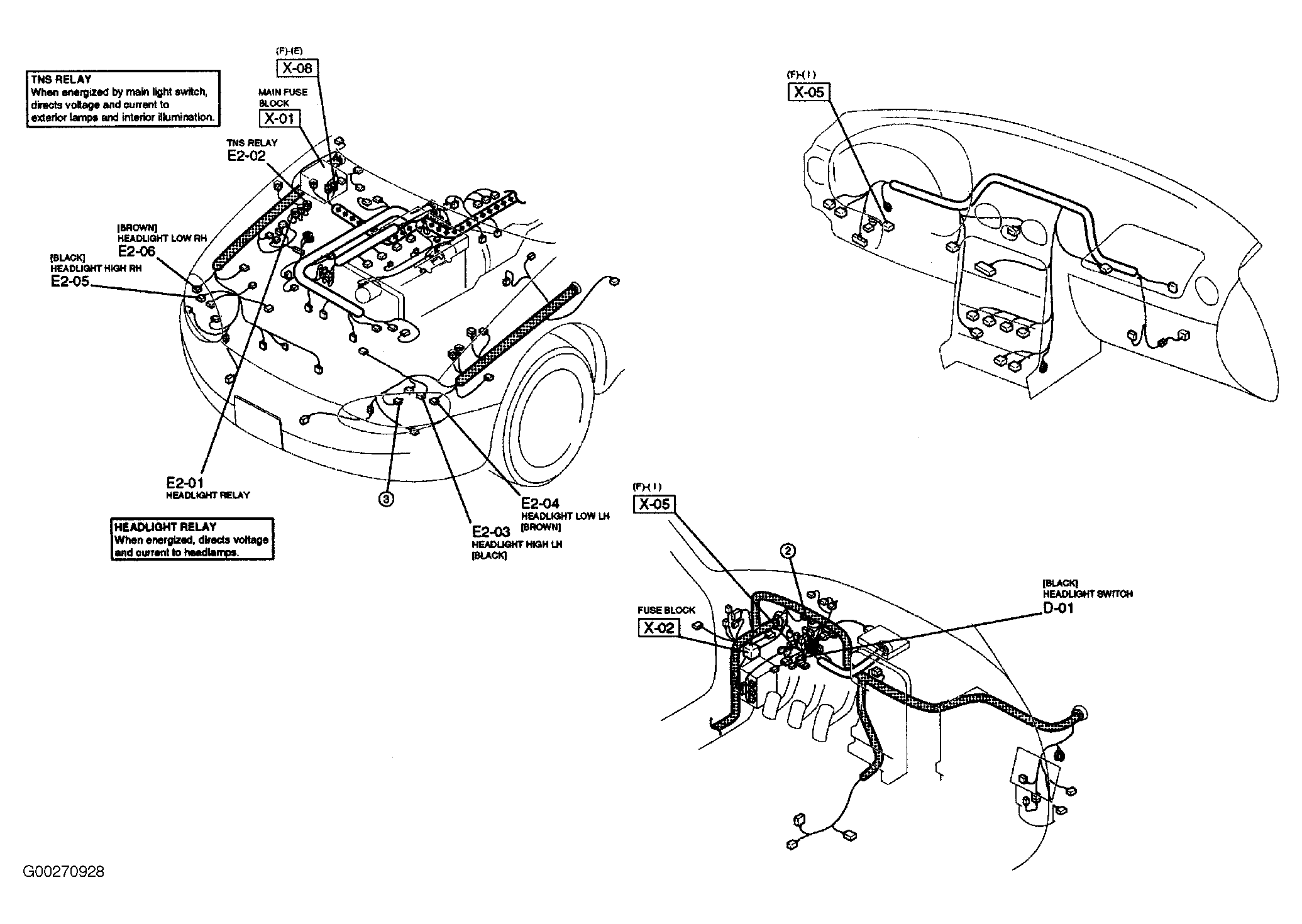
Fig 28: Headlights (W/DRL)
G00270928Courtesy of MAZDA MOTORS CORP.
Fig 29: Wiper/Washer
G00270930Courtesy of MAZDA MOTORS CORP.
Fig 30: Instrument Cluster
G00270931Courtesy of MAZDA MOTORS CORP.
Fig 31: Instrument Cluster
G00270932Courtesy of MAZDA MOTORS CORP.
Fig 32: Cooling Fan
G00270934Courtesy of MAZDA MOTORS CORP.
Fig 33: Fuel System
G00270935Courtesy of MAZDA MOTORS CORP.
Fig 34: Engine Control System
G00270936Courtesy of MAZDA MOTORS CORP.
Fig 35: Engine Control System
G00270937Courtesy of MAZDA MOTORS CORP.
Fig 36: Engine Control System
G00270938Courtesy of MAZDA MOTORS CORP.
Fig 37: Engine Control System
G00270939Courtesy of MAZDA MOTORS CORP.
Fig 38: Engine Control System
G00270940Courtesy of MAZDA MOTORS CORP.
Fig 39: Starting & Charging
G00270941Courtesy of MAZDA MOTORS CORP.
Fig 40: Relay And Main Fuse Block
G00270943Courtesy of MAZDA MOTORS CORP.