lemon-mirror
:
Home
>>
Mazda
>>
2004
>>
MX-5 Miata Base, Automatic
>>
Repair and Diagnosis
>>
Engine Performance
>>
System
>>
Engine Control System
>>
Pcm Inspection
>>
Inspection Using An Oscilloscope (Reference)
>>
Engine Speed Signal
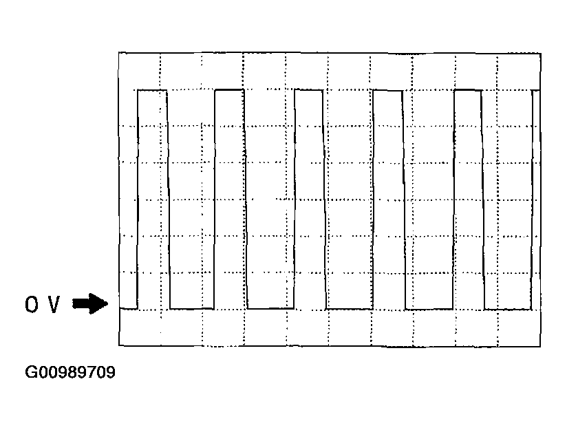
Engine Speed Signal
PCM terminal: 3O(+) <-> 4A(-)
Oscilloscope setting: 2.0 V/DIV (Y), 20 ms/DIV (X), DC range
Vehicle condition: Idling
Fig 1: Identifying Fuel Engine Speed Signal
Courtesy of MAZDA MOTORS CORP.