lemon-mirror:
Home >> Mazda >> 2004 >> RX-8 1.3 3 >> Repair and Diagnosis >> Electrical >> Component Locations >> Electrical Component Locator >> Control Units

Control Units

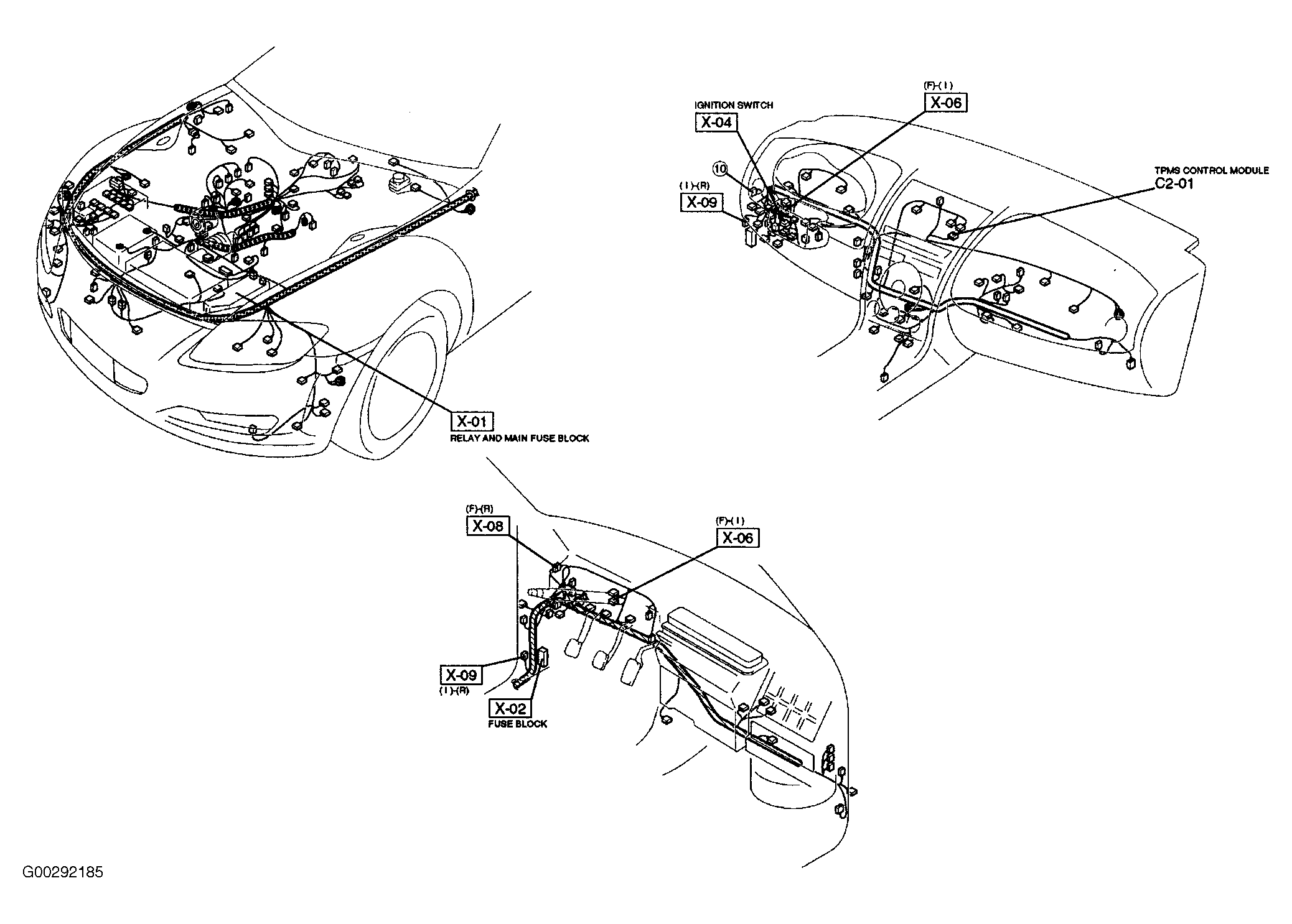
CONTROL UNITS LOCATION

Component Location
Auto Leveling Control Module Behind right side of dash. See Figure .
Car-Navigation Unit Under right front seat. See Figure .
Delayed Power Control Module Behind right side of dash. See Figure .
Driver-Side Air Bag Module In steering column. See Figure .
Driver-Side Curtain Air Bag Module Behind seat back corner, above left rear wheelwell. See Figure .
Driver-Side Side Air Bag Module In left front seat back. See Figure .
DRL Module Behind right side of dash. See Figure .
DSC HU/CM At left front of engine compartment. See Figure .
EPS Control Module At right front of engine compartment. See Figure .
Flasher Control Module Behind left side of dash. See Figure .
Keyless Control Module Behind right end of dash. See Figure .
Passenger-Side Air Bag Module Behind right side of dash. See Figure .
Passenger-Side Curtain Air Bag Module Behind seat back corner, above right rear wheelwell. See Figure .
Passenger-Side Side Air Bag Module In right front seat back. See Figure .
PCM At right front of engine compartment. See Figure .
SAS Control Module Behind lower center of dash. See Figure .
TCM Behind left side of dash. See Figure .
TPMS Control Module Behind right side of dash. See Figure .