lemon-mirror:
Home >> Mazda >> 2005 >> B3000 Base, Automatic >> Repair and Diagnosis >> Body & Frame >> Door Locks >> Security System And Locks System >> Relay Component Test >> Notes

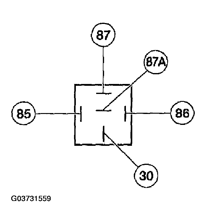
Relay Component Test: Notes

Testing of an ISO relay can be accomplished through the use of three No. 10 (or larger gauge) jumper wires and a multimeter.

Fig 1: View Of Testing Relay
G03731559Courtesy of MAZDA MOTORS CORP.