lemon-mirror:
Home >> Mazda >> 2005 >> MPV ES >> Repair and Diagnosis >> Body & Frame >> Windows >> Glass/Windows/Mirrors >> Filament Inspection

Filament Inspection

  1. Turn the ignition switch to ON position.
  2. Turn the rear window defroster switch on.
    CAUTION:
    • Directly touching the rear window defroster filament with the lead of the circuit tester will damage it. Wrap aluminum foil around the end of the lead and test the filament by touching it with the foil.
    Fig 1: Testing Filament
    G03701148Courtesy of MAZDA MOTORS CORP.
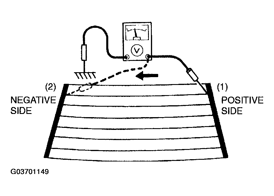
  3. Connect the positive (+) lead of the voltmeter to the positive side of each filament and the negative (-) lead to ground.
  4. Gradually, slide the positive (+) lead from the positive side to the negative side and measure the voltage. Verify that the voltage decreases accordingly.
    • If the voltage is not as specified or it changes rapidly, the filament is faulty. Repair the filament.
    MEASUREMENT PLACE AND VOLTAGE CHART

    Measurement place Voltage (Reference value)
    (1)-->(2) Approx. 12 V--> Approx. 0 V
    Fig 2: Connecting Positive Lead Of Voltmeter To Positive Side Of Each Filament And Negative Lead To Ground
    G03701149Courtesy of MAZDA MOTORS CORP.