lemon-mirror:
Home >> Mazda >> 2005 >> MPV ES >> Repair and Diagnosis >> Body & Frame >> Windows >> Glass/Windows/Mirrors >> Power Outside Mirror Switch Inspection

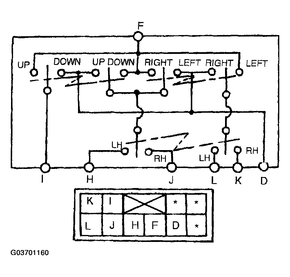
Power Outside Mirror Switch Inspection

  1. Remove the power outside mirror switch. (See POWER OUTSIDE MIRROR SWITCH REMOVAL/INSTALLATION .)
  2. Inspect for continuity between the power outside mirror switch terminals using an ohmmeter.
    • If not as specified, replace the power outside mirror switch.
    Fig 1: Checking Continuity Between Power Outside Mirror Switch Terminals
    G03701160Courtesy of MAZDA MOTORS CORP.
    Fig 2: Checking Continuity Between Power Outside Mirror Switch Terminals Chart
    G03701159Courtesy of MAZDA MOTORS CORP.