lemon-mirror:
Home >> Mazda >> 2005 >> MPV ES >> Repair and Diagnosis >> Brakes >> Traction Control >> Traction Control System >> TCS Off Switch Removal/Installation

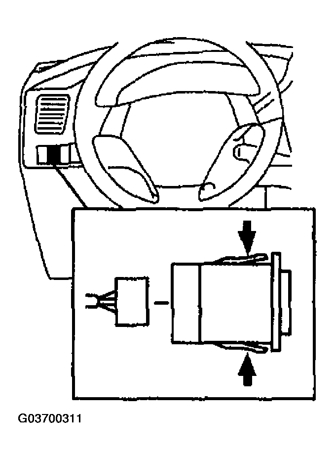
TCS Off Switch Removal/Installation

  1. Press the hooks of the TCS OFF switch and pull the switch out.
  2. Disconnect the connector.
  3. Install in the reverse order of removal.
    Fig 1: Removing TCS Off Switch
    G03700311Courtesy of MAZDA MOTORS CORP.