lemon-mirror:
Home >> Mazda >> 2006 >> 3 i, 2.0 F, Automatic >> Repair and Diagnosis >> Engine Performance >> Engine Control Systems >> Control System Diagram >> Except for California Emission Regulation Applicable Model

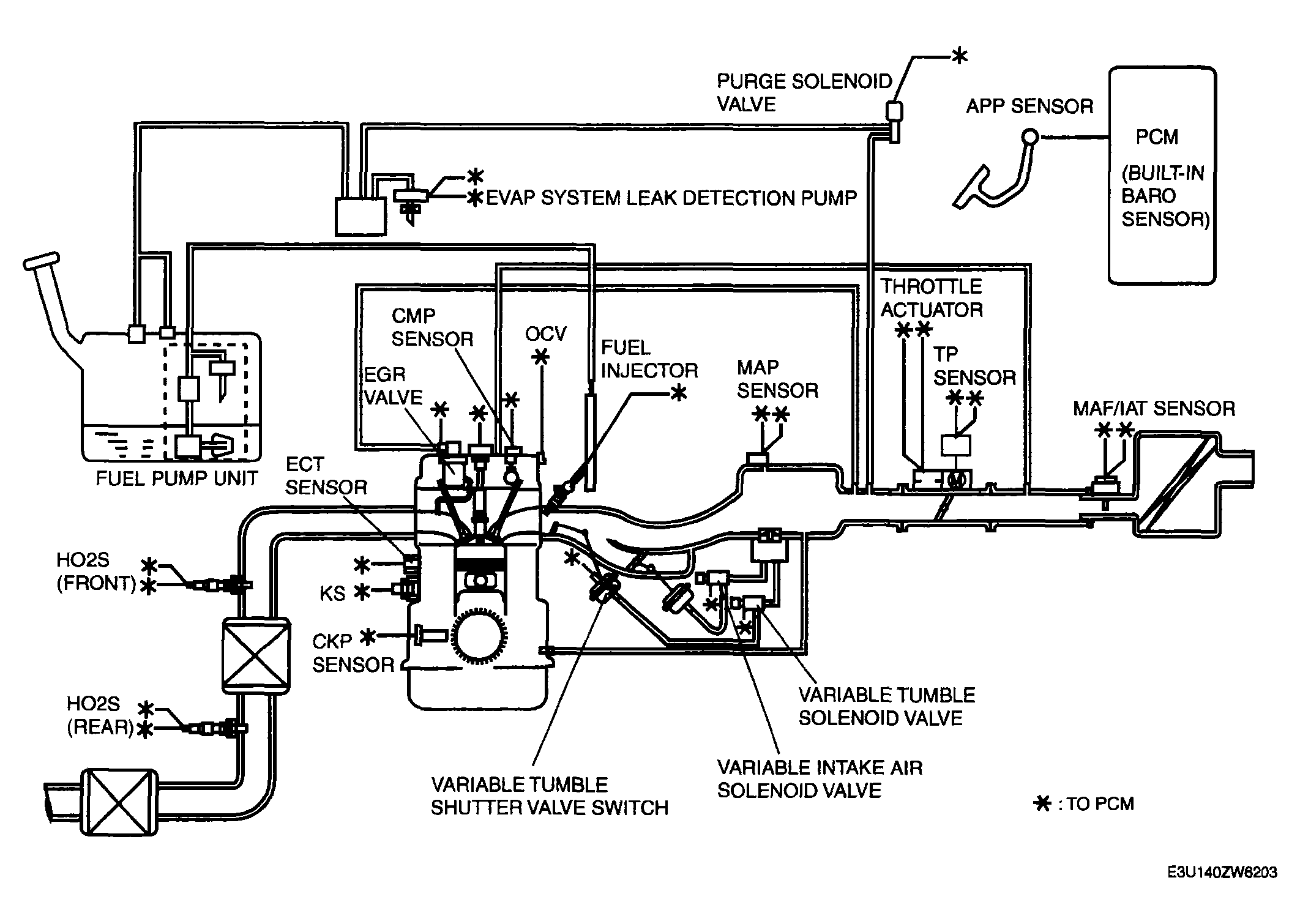
Except for California Emission Regulation Applicable Model

Fig 1: Control System Diagram [LF, L3] - Except For California Emission Regulation Applicable Model
G04313838Courtesy of MAZDA MOTORS CORP.