lemon-mirror:
Home >> Mazda >> 2006 >> 3 i, 2.0 F, Automatic >> Repair and Diagnosis >> Engine Performance >> Engine Control Systems >> Pcm Removal/Installation

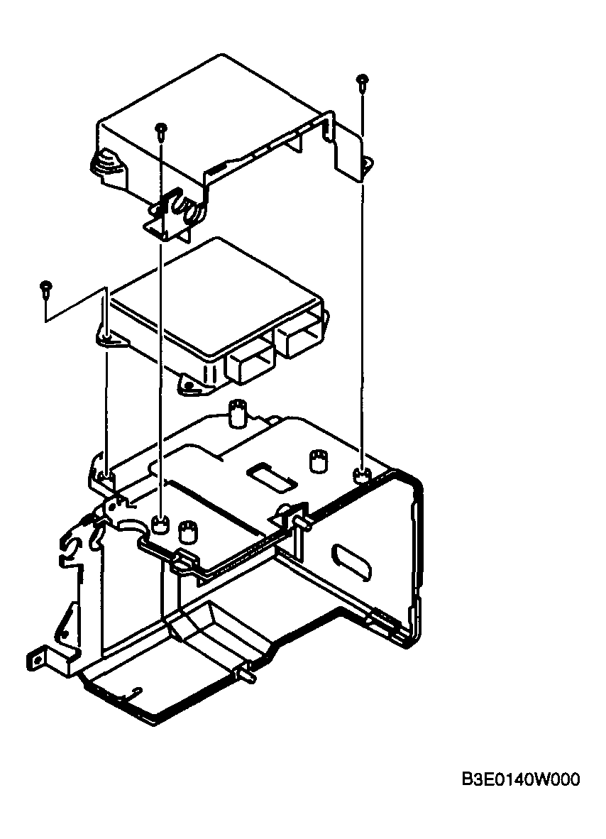
Pcm Removal/Installation

  1. When replacing the PCM, perform the following:
  2. Remove the battery cover, battery duct, battery and battery tray with PCM. (See BATTERY REMOVAL/INSTALLATION [LF, L3] ).
  3. Disconnect the PCM connector.
  4. Remove the PCM from the battery tray.
  5. When replacing the PCM on the vehicles, perform the following:
  6. Install in the reverse order of removal.
    Fig 1: Removing And Installing PCM [LF, L3]
    G04313847Courtesy of MAZDA MOTORS CORP.