lemon-mirror:
Home >> Mazda >> 2006 >> 5 Touring, 2.3 L >> Repair and Diagnosis >> Engine Performance >> Engine Control Systems >> Engine Control System (L3) >> Pcm Inspection >> Inspection Using An Oscilloscope (Reference) >> Vehicle condition

Vehicle condition

Shift solenoid B signal 

Fig 1: Identifying Waveform - Shift Solenoid A Signal
G04316055Courtesy of MAZDA MOTORS CORP.


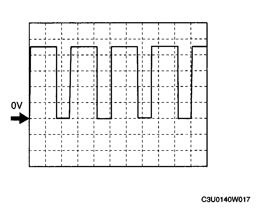
Shift solenoid C signal 

Fig 1: Identifying Waveform - Shift Solenoid B Signal
G04316056Courtesy of MAZDA MOTORS CORP.


Pressure control solenoid (+) signal 



Pressure control solenoid (-) signal 



Vehicle speed signal (ATX) 



Input/turbine speed sensor (+) signal 

Fig 1: Identifying Waveform - Vehicle Speed Signal (ATX)
G04316060Courtesy of MAZDA MOTORS CORP.


Input/turbine speed sensor (-) signal 



Cooling fan control signals 

Fig 1: Identifying Waveform - Input/Turbine Speed Sensor (-) Signal
G04316062Courtesy of MAZDA MOTORS CORP.




Accelerator pedal is depressed 

Fig 2: Identifying Waveform - APP Signal (Accelerator Pedal Is Depressed)
G04316065Courtesy of MAZDA MOTORS CORP.

HO2S (front) heater control signal 



CMP sensor signal 

(+) 



(-) 



CKP sensor signal 

(+) 



(-) 



OCV signal 



HO2S (front) signal 



Generator output voltage signal 



Purge control signal 



Generator field coil control signal 



Fuel injection control 



IGT1, IGT2, IGT3, IGT4 control signals