lemon-mirror:
Home >> Mazda >> 2006 >> 5 Touring, 2.3 L >> Repair and Diagnosis >> Engine Performance >> Engine Control Systems >> Engine Control System (L3) >> Pcm Removal/Installation

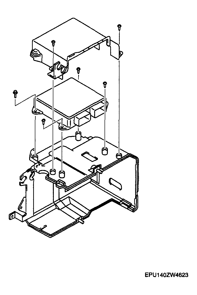
Pcm Removal/Installation

  1. When replacing the PCM, perform the following:
  2. Remove the battery cover, battery duct, battery and battery tray with PCM. (See BATTERY REMOVAL/INSTALLATION [L3] ).
  3. Disconnect the PCM connector.
  4. Remove the PCM from the battery tray.
  5. When replacing the PCM on the vehicles, perform the following:
  6. Install in the reverse order of removal.
    Fig 1: Removing PCM From Battery Tray
    G04316053Courtesy of MAZDA MOTORS CORP.