lemon-mirror:
Home >> Mazda >> 2006 >> MPV ES >> Repair and Diagnosis >> Engine Performance >> System >> On-Board Diagnostic [Engine Control System (AJ)] >> DTC P0052 >> Notes

DTC P0052: Notes

DTC P0052 [AJ] DETECTION CONDITION AND POSSIBLE CAUSES

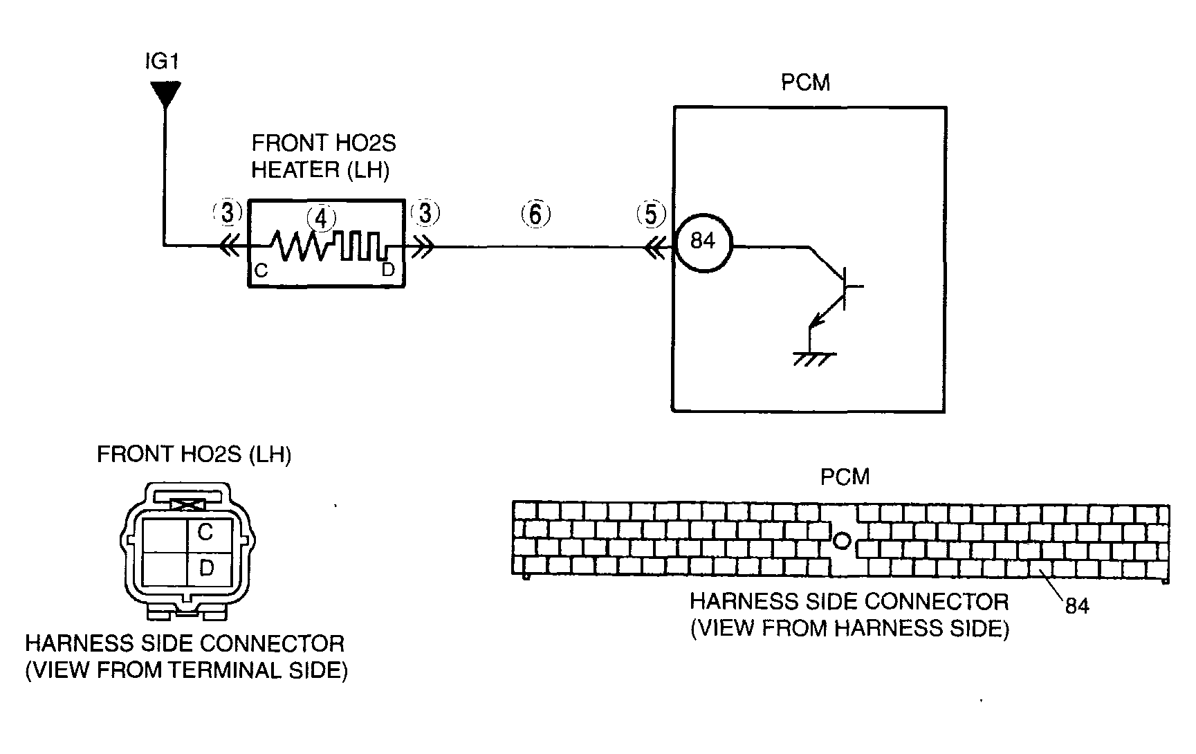
DTC P0052 HO2S heater (Front, LH) circuit high
DETECTION CONDITION 
  • The PCM monitors the HO2S heater, (Front, LH) control signal at PCM terminal 84. If the PCM turns the front heater (LH) on but front heater (LH) circuit remains high voltage, the PCM determines that the HO2S heater (Front, LH) circuit has malfunctioned.
NOTE:
  • The HO2S heater (Front, LH) is controlled by a duty signal.

Diagnostic support note 

  • This is a continuous monitor (HO2S heater)(1).
  • This is an intermittent monitor (HO2S heater)(2).
  • The MIL illuminates if the PCM detects the above malfunction condition in two consecutive drive cycles or in one drive cycle while the DTC for the same malfunction has been stored in the PCM.
  • PENDING CODE is available if the PCM detects the above malfunction condition during the first drive cycle.
  • FREEZE FRAME DATA is available.
  • DTC is stored in PCM memory.
POSSIBLE CAUSE 
  • HO2S heater (Front, LH) malfunction
  • Connector or terminal malfunction
  • Short to power circuit between HO2S (Front, LH) terminal D and PCM terminal 84
  • PCM malfunction
G04327903Courtesy of MAZDA MOTORS CORP.
(1) With rear HO2S model

(2) Without rear HO2S model