lemon-mirror:
Home >> Mazda >> 2006 >> MPV ES >> Repair and Diagnosis >> Engine Performance >> System >> On-Board Diagnostic [Engine Control System (AJ)] >> DTC P0103 >> Notes

DTC P0103: Notes

DTC P0103 [AJ] DETECTION CONDITION AND POSSIBLE CAUSES

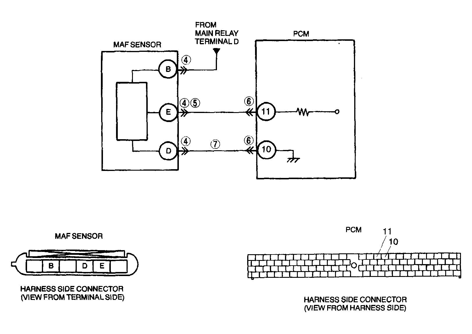
DTC P0103 MAF circuit high input
DETECTION CONDITION 
  • PCM monitors input voltage from MAF sensor when engine running. If input voltage at PCM terminal 11 is above 4.8 V  , PCM determines that MAF circuit has a malfunction.

Diagnostic support note 

  • This is a continuous monitor (CCM).
  • The MIL illuminates if the PCM detects the above malfunction condition in the first drive cycle.
  • PENDING CODE is available if the PCM detects the above malfunction condition.
  • FREEZE FRAME DATA is available.
  • DTC is stored in the PCM memory.
POSSIBLE CAUSE 
  • MAF sensor malfunction
  • Connector or terminal malfunction
  • Short to power in wiring between MAF/IAT sensor terminal E and PCM terminal 11
  • Open circuit in wiring between MAF/IAT sensor terminal D and PCM terminal 10
  • Open circuit in MAF/IAT sensor ground circuit
  • PCM malfunction
G04327907Courtesy of MAZDA MOTORS CORP.