lemon-mirror:
Home >> Mazda >> 2006 >> MPV ES >> Repair and Diagnosis >> Engine Performance >> System >> On-Board Diagnostic [Engine Control System (AJ)] >> DTC P0335 >> Notes

DTC P0335: Notes

DTC P0335 [AJ] DETECTION CONDITION AND POSSIBLE CAUSES

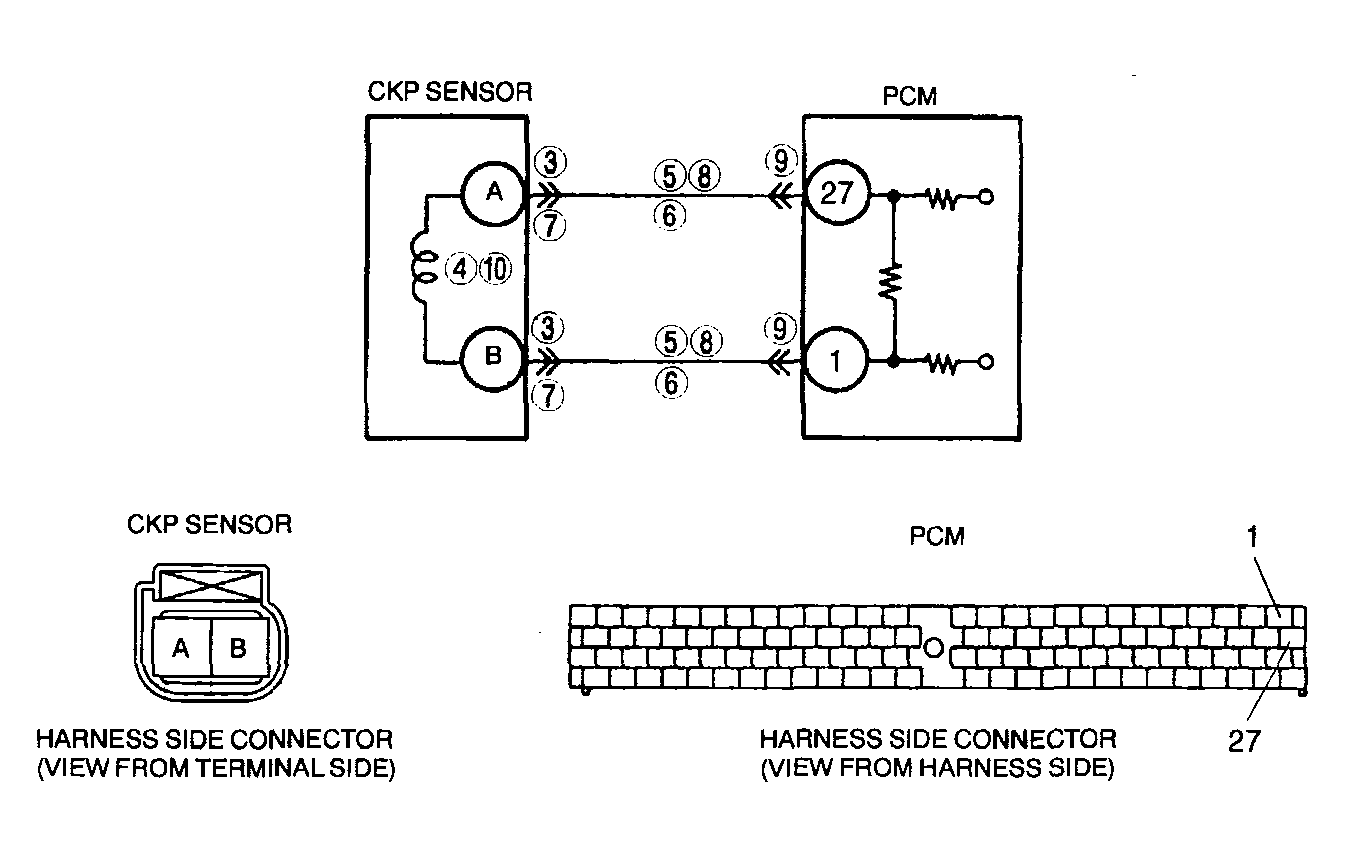
DTC P0335 CKP sensor circuit malfunction
DETECTION CONDITION 
  • If PCM does not receive input voltage from CKP sensor for 4.2 s  while MAF is 2.0 g/s {0.26 lb/min} or above  , PCM determines that CKP sensor circuit has a malfunction.

Diagnostic support note 

  • This is a continuous monitor (CCM).
  • The MIL illuminates if the PCM detects the above malfunction condition in the first drive cycle.
  • PENDING CODE is available if the PCM detects the above malfunction condition.
  • FREEZE FRAME DATA is available.
  • DTC is stored in the PCM memory.
POSSIBLE CAUSE 
  • CKP sensor malfunction
  • Connector or terminal malfunction
  • CKP sensor is dirty.
  • Short to ground between CKP sensor terminal A to PCM terminal 27
  • Short to ground between CKP sensor terminal B to PCM terminal 1
  • Short to power circuit between CKP sensor terminal A to PCM terminal 27
  • Short to power circuit between CKP sensor terminal B to PCM terminal 1
  • Open circuit between CKP sensor terminal A to PCM terminal 27
  • Open circuit between CKP sensor terminal B to PCM terminal 1
  • CKP sensor pulse wheel malfunction
  • Both CKP sensor wires are shorted each other
  • PCM malfunction
G04327926Courtesy of MAZDA MOTORS CORP.