lemon-mirror:
Home >> Mazda >> 2006 >> MPV ES >> Repair and Diagnosis >> Engine Performance >> System >> On-Board Diagnostic [Engine Control System (AJ)] >> DTC P0505 >> Notes

DTC P0505: Notes

DTC P0505 [AJ] DETECTION CONDITION AND POSSIBLE CAUSES

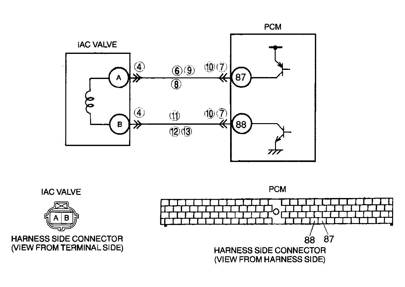
DTC P0505 IAC system malfunction
DETECTION CONDITION 
  • The PCM cannot control the idle speed toward the target idle speed during the KOER self test.
POSSIBLE CAUSE 
  • IAC valve circuit malfunction
  • Short to ground between IAC valve terminal A and PCM terminal 87
  • Open circuit between IAC valve terminal A and PCM terminal 87
  • Short to ground between IAC valve terminal B and PCM terminal 88
  • Short to power between IAC valve terminal B and PCM terminal 88
  • Open circuit between IAC valve terminal B and PCM terminal 88
  • Poor connection of IAC valve connector or PCM connector
  • PCM malfunction
G04327940Courtesy of MAZDA MOTORS CORP.