lemon-mirror:
Home >> Mazda >> 2006 >> MPV ES >> Repair and Diagnosis >> Engine Performance >> System >> On-Board Diagnostic [Engine Control System (AJ)] >> DTC P2401 >> Notes

DTC P2401: Notes

DTC P2401 [AJ] DETECTION CONDITION AND POSSIBLE CAUSES

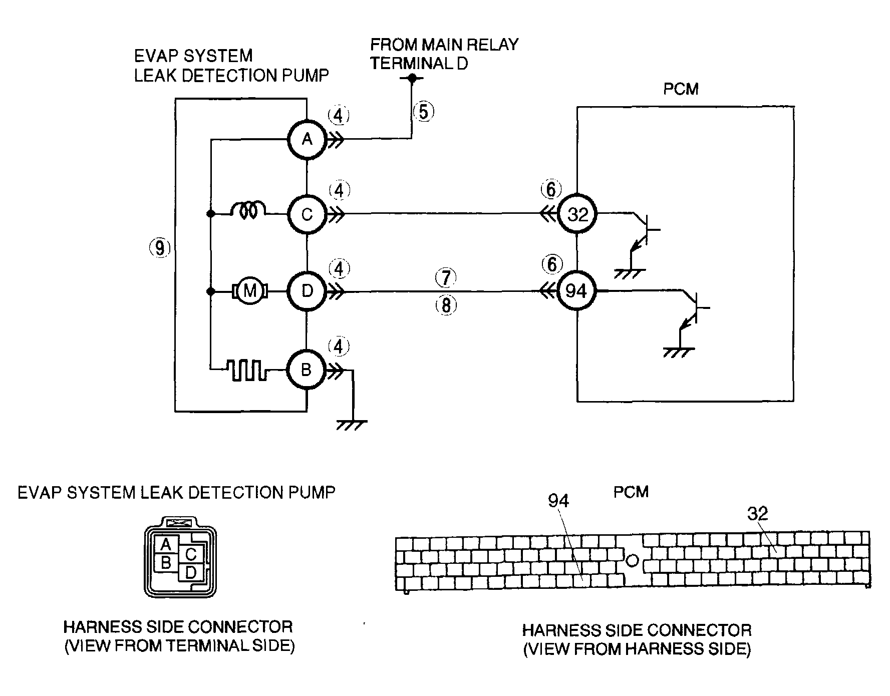
DTC P2401 EVAP system leak detection pump motor circuit low
DETECTION CONDITION 
  • The PCM monitors pump load current (EVAP line pressure), while evaporative leak monitor is operating. If the pump load current is lower than specified, the PCM determines EVAP system leak detection pump motor circuit has a malfunction.

Diagnostic support note 

  • This is an intermittent monitor (CCM).
  • The MIL illuminates if the PCM detects the above malfunction condition in two consecutive drive cycles or in one drive cycle while the DTC for the same malfunction has been stored in the PCM.
  • PENDING CODE is available if the PCM detects the above malfunction condition during the first drive cycle.
  • FREEZE FRAME DATA is available.
  • DTC is stored in PCM memory.
POSSIBLE CAUSE 
  • Open circuit between the main relay terminal D and EVAP system leak detection pump terminal A
  • Open circuit between the EVAP system leak detection pump terminal D and PCM terminal 94
  • Short to ground circuit between the EVAP system leak detection pump terminal D and PCM terminal 94
  • Connector or terminal malfunction
  • EVAP system leak detection pump malfunction
  • PCM malfunction
G04327951Courtesy of MAZDA MOTORS CORP.