lemon-mirror:
Home >> Mazda >> 2006 >> MX-5 Miata Base >> Repair and Diagnosis >> Engine Performance >> System >> On-Board Diagnostic [Engine Control System] >> DTC P0140 >> Notes

DTC P0140: Notes

DETECTION CONDITION AND POSSIBLE CAUSE (DTC P0140)

DTC P0140 Rear HO2S no activity detected
DETECTION CONDITION 
  • The PCM monitors the input voltage from the rear HO2S when the following conditions are met. Under the following monitoring conditions, if the input voltage from the rear HO2S does not even exceed 0.55 V  though the short term fuel trim is controlled up to 20.5%  for 9.6 s  , the PCM determines that sensor circuit is not activated.

    MONITORING CONDITIONS 

    • HO2S, HO2S heater and TWC repair verification drive mode
    • Following conditions are met for above 20.8 s 
      • Engine speed is above 1,500 rpm. 
      • Engine coolant temperature is above 70°C {158°F}  .
    • Rear HO2S voltage is above 0.1 V 
Diagnostic support note 
  • This is an intermittent monitor (HO2S).
  • The MIL illuminates if the PCM detects the above malfunction condition in two consecutive drive cycles or in one drive cycle while the DTC for the same malfunction has been stored in the PCM.
  • PENDING CODE is available if the PCM detects the above malfunction condition during the first drive cycle.
  • FREEZE FRAME DATA is available.
  • The DTC is stored in the PCM memory.
POSSIBLE CAUSE 
  • Rear HO2S deterioration
  • Rear HO2S heater malfunction
  • Leakage exhaust system
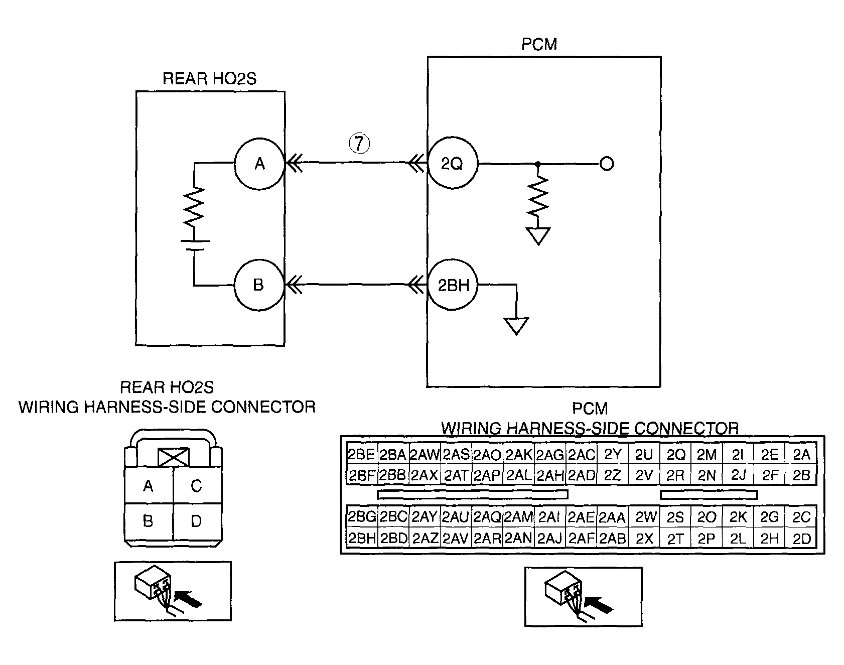
  • Open circuit or short to ground in wiring harness between rear HO2S terminal A and PCM terminal 2Q
  • Insufficient compression
  • Engine malfunction
G04317713Courtesy of MAZDA MOTORS CORP.