lemon-mirror:
Home >> Mazda >> 2006 >> MX-5 Miata Base >> Repair and Diagnosis >> Engine Performance >> System >> On-Board Diagnostic [Engine Control System] >> DTC P0661 >> Notes

DTC P0661: Notes

DETECTION CONDITION AND POSSIBLE CAUSE (DTC P0661)

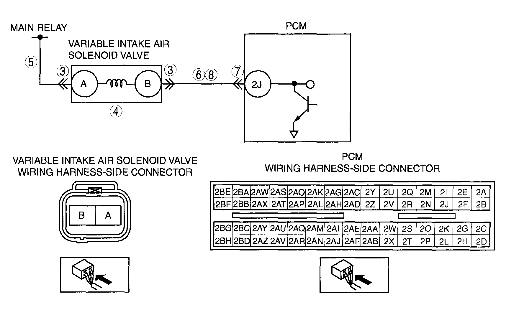
DTC P0661 Variable intake air solenoid valve circuit low input
DETECTION CONDITION 
  • The PCM monitors the variable intake air solenoid valve control signal. If the PCM turns variable intake air solenoid valve off but voltage at PCM terminal still remains low, the PCM determines that variable intake air solenoid valve circuit has malfunction.
Diagnostic support note 
  • This is a continuous monitor (Other).
  • The MIL does not illuminate.
  • PENDING CODE is available if the PCM detects the above malfunction condition.
  • The FREEZE FRAME DATA is available.
  • The DTC is stored in the PCM memory.
POSSIBLE CAUSE 
  • Variable intake air solenoid valve malfunction
  • Open circuit in wiring harness between main relay and variable intake air solenoid valve terminal A
  • Open circuit in wiring harness between variable intake air solenoid valve terminal B and PCM terminal 2J
  • Short to ground in wiring harness between variable intake air solenoid valve terminal B and PCM terminal 2J
  • Connector or terminal malfunction
  • PCM malfunction
G04317730Courtesy of MAZDA MOTORS CORP.