lemon-mirror:
Home >> Mazda >> 2006 >> MX-5 Miata Base >> Repair and Diagnosis >> Engine Performance >> System >> On-Board Diagnostic [Engine Control System] >> DTC P0662 >> Notes

DTC P0662: Notes

DETECTION CONDITION AND POSSIBLE CAUSE (DTC P0662)

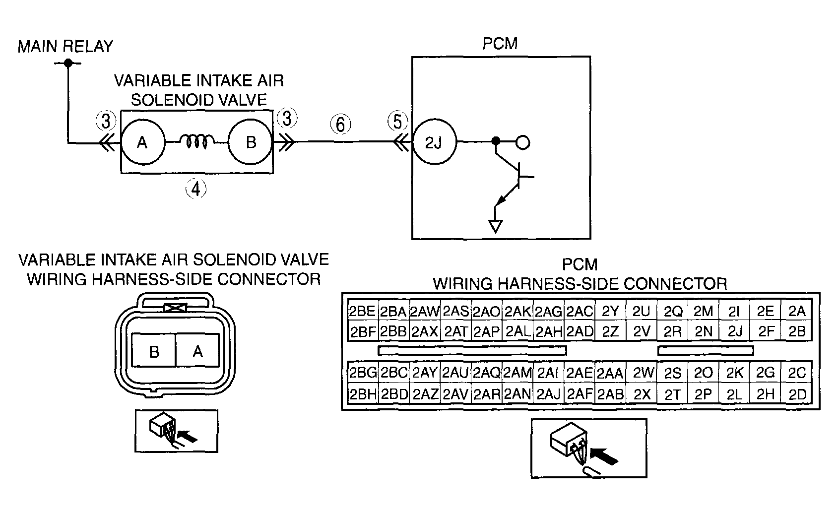
DTC P0662 Variable intake air solenoid valve circuit high input
DETECTION CONDITION 
  • The PCM monitors the variable intake air solenoid valve control signal at PCM terminal. If the PCM turns variable intake air solenoid valve on but voltage at PCM terminal still remains high, the PCM determines that the variable intake air solenoid valve circuit has malfunction.
Diagnostic support note 
  • This is a continuous monitor (Other).
  • The MIL does not illuminate.
  • PENDING CODE is available if the PCM detects the above malfunction condition.
  • FREEZE FRAME DATA is available.
  • The DTC is stored in the PCM memory.
POSSIBLE CAUSE 
  • Variable intake air solenoid valve malfunction
  • Short to power supply in wiring harness between variable intake air solenoid valve terminal B and PCM terminal 2J
  • Shorted variable intake air solenoid valve or PCM connector
  • PCM malfunction
G04317731Courtesy of MAZDA MOTORS CORP.