lemon-mirror:
Home >> Mazda >> 2007 >> 3 Mazdaspeed, 2.3 M >> Repair and Diagnosis >> Engine Performance >> Engine Control Systems >> Engine Control System (L3 With TC) >> Pcm Removal/Installation

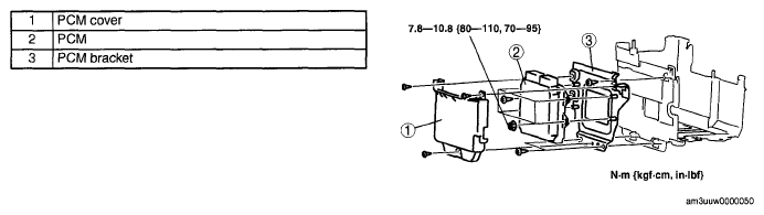
Pcm Removal/Installation

NOTE:
  • For PCM replacement, set up the M-MDS and perform the PCM configuration. (See PCM CONFIGURATION ).
  1. Remove the battery cover.
  2. Disconnect the negative battery cable.
  3. Disconnect the PCM connector.
  4. When replacing the PCM on the vehicles, perform the following.
  5. Install in the reverse order of removal.
    Fig 1: Removal/Installation Of PCM With Torque Specification
    G04955294Courtesy of MAZDA MOTORS CORP.