lemon-mirror:
Home >> Mazda >> 2007 >> RX-8 Touring, 1.3 3 >> Repair and Diagnosis >> Engine Performance >> Engine Control Systems >> Neutral Switch Inspection >> Continuity Inspection

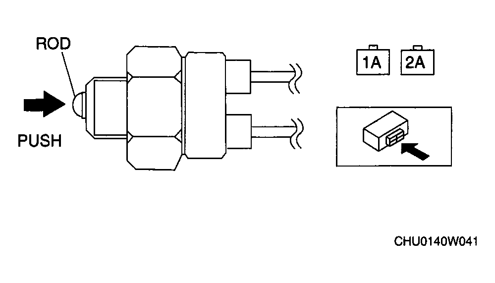
Continuity Inspection

  1. Remove the neutral switch.
  2. Verify that the continuity between neutral switch terminals 1A and 2A is as indicated in MEASUREMENT CONDITION AND CONTINUITY CHART .
    • If there is no malfunction, perform the "CIRCUIT OPEN/SHORT INSPECTION ".
    • If there is any malfunction, replace the neutral switch.
      Fig 1: Inspecting Continuity Between Neutral Switch Terminals 1A & 2A
      G04562996Courtesy of MAZDA MOTORS CORP.
MEASUREMENT CONDITION AND CONTINUITY CHART

Measurement condition Continuity
Push the rod. No continuity
Except above Continuity detected