lemon-mirror:
Home >> Mazda >> 2011 >> RX-8 R3, 1.3 2 >> Repair and Diagnosis >> Engine Performance >> Engine Control Systems >> Control System Wiring Diagram

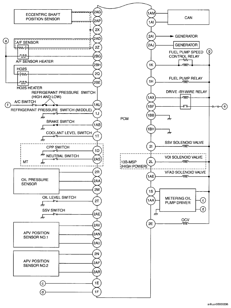
Control System Wiring Diagram

Fig 1: Control System - Wiring Diagram (1 Of 2)
G05982289Courtesy of MAZDA MOTORS CORP.
Fig 2: Control System - Wiring Diagram (2 Of 2)
G05982290Courtesy of MAZDA MOTORS CORP.