lemon-mirror:
Home >> Mazda >> 2011 >> RX-8 R3, 1.3 2 >> Repair and Diagnosis >> Engine Performance >> Engine Control Systems >> Neutral Switch Inspection >> Continuity Inspection

Continuity Inspection

  1. Remove the battery cover. (See BATTERY REMOVAL/INSTALLATION [13B-MSP] .)
  2. Disconnect the negative battery cable.
  3. Remove the neutral switch. (See NEUTRAL SWITCH REMOVAL/INSTALLATION .)
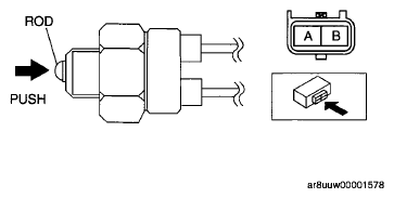
  4. Verify that the continuity between neutral switch terminals A and B is as indicated in the table.
Fig 1: Inspecting Neutral Switch
G05981122Courtesy of MAZDA MOTORS CORP.
CONTINUITY REFERENCE CHART

Measurement condition Continuity
Push the rod No continuity
Except above Continuity detected