lemon-mirror:
Home >> Mazda >> 2012 >> 5 Touring >> Repair and Diagnosis >> Electrical >> Horns >> Instrumentation/Driver Info >> Instrument Cluster Disassembly/Assembly

Instrument Cluster Disassembly/Assembly

CAUTION:
  • Do not drop the instrument cluster or damage the printed board. Doing so could cause a system malfunction.
  1. When replacing the instrument cluster, always perform the configuration procedure. (See INSTRUMENT CLUSTER CONFIGURATION .)
  2. Disconnect the negative battery cable.
  3. Remove the upper column cover. (See COLUMN COVER REMOVAL/INSTALLATION .)
  4. Remove the instrument cluster. (See INSTRUMENT CLUSTER REMOVAL/INSTALLATION .)
  5. Remove the screws.
    Fig 1: Identifying Upper Column Cover And Screws
    G08153549
  6. Remove the screws.
    Fig 2: Identifying Upper Column Cover And Screws
    G08153550
  7. Remove the cover.
    Fig 3: Identifying Instrument Cluster Cover And Instrument Cluster Rubber
    G08153551
  8. Remove the instrument cluster rubber.
  9. Remove the screws, then remove the clips.
    Fig 4: Identifying Instrument Cluster Cover, Screws And Clips
    G08153552
  10. Remove the screws, then remove the instrument cluster cover hood.
    Fig 5: Identifying Screws, Panel And Instrument Cluster Cover Hood
    G08153553
  11. Release the tabs and remove the instrument cluster panel.
    Fig 6: Identifying Tabs And Instrument Cluster Panel (1 Of 2)
    G08153554
    Fig 7: Identifying Tabs And Instrument Cluster Panel (2 Of 2)
    G08153555
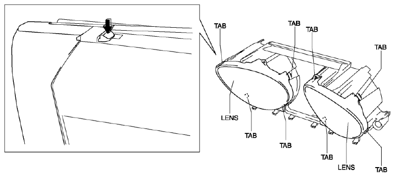
  12. Release the tabs and remove the lenses.
    Fig 8: Identifying Tabs And Instrument Cluster Lenses
    G08153556
  13. Assemble in the reverse order of disassembly.