lemon-mirror:
Home >> Mazda >> 2012 >> 5 Touring >> Repair and Diagnosis >> Restraints >> Restraints Control Systems >> Seat Belt System >> Front Seat Belt Removal/Installation >> Notes

Front Seat Belt Removal/Installation: Notes

WARNING:
  • Handling the front seat belt (pre-tensioner seat belt) improperly can accidentally deploy the pre-tensioner seat belt, which may seriously injure you. Read the air bag system service warnings and cautions before handling the front seat belt. (See AIR BAG SYSTEM SERVICE WARNINGS .) (See AIR BAG SYSTEM SERVICE CAUTIONS .)
WARNING:
  • The side air bag sensor is attached to the lower part of the B-pillar. When working around the B-pillar, disconnect the negative battery cable avoiding excessive impact to the lower part of the B-pillar.
CAUTION:
  • The ELR (emergency locking retractor) has a spring that will unwind if the retractor cover is removed. The spring cannot be rewound by hand. If this occurs, the ELR will not work properly. Therefore, do not disassemble the retractor.
  1. Switch the ignition to off.
  2. Disconnect the negative battery cable and wait for 1 min or more  .
  3. Remove the front scuff plate. (See FRONT SCUFF PLATE REMOVAL/INSTALLATION .)
  4. Remove the rear scuff plate. (See REAR SCUFF PLATE REMOVAL/INSTALLATION .)
  5. Remove the B-pillar lower trim. (See B-PILLAR LOWER TRIM REMOVAL/INSTALLATION .)
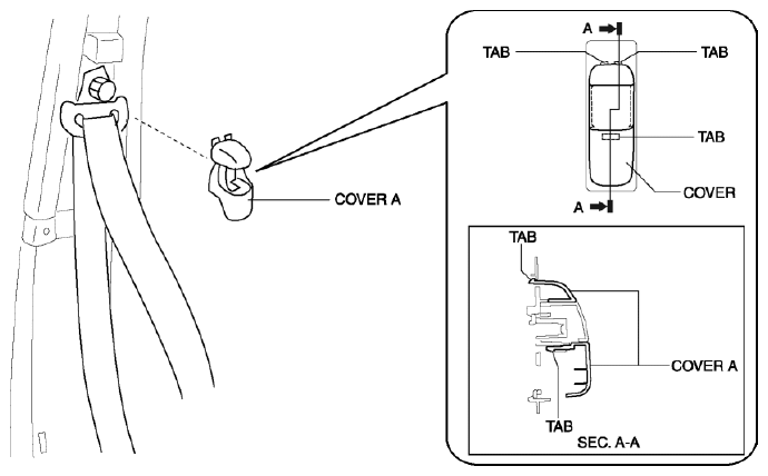
  6. Remove the cover A.
    Fig 1: Identifying Front Seat Belt Cover A And Tabs
    G08152547
  7. Remove the cover B (U.S.A. specs.). (See
    Fig 2: Front Seat Belt Cover A And Bolts With Torque Specifications
    G08152548
  8. Remove the bolts A and bolt B, then remove the front seat belt.
  9. Using a flathead screwdriver, lift the locking device carefully, however do not remove it.
    Fig 3: Lifting Locking Device Using Flathead Screwdriver
    G08152549
  10. Disconnect the pre-tensioner seat belt connector.
  11. Install in the reverse order of removal.
  12. Switch the ignition to ON.
  13. Verify that the air bag system warning light illuminates for approx. 6 s  and goes out.